Радиосвязь - в космос, из космоса, через космос.

Автор AKr, 05.03.2022 19:36:06

« назад - далее »

0 Пользователи и 3 гостей просматривают эту тему.

A.E

Цитата: mik73 от 19.09.2023 16:34:49типа РВ имеется в виду
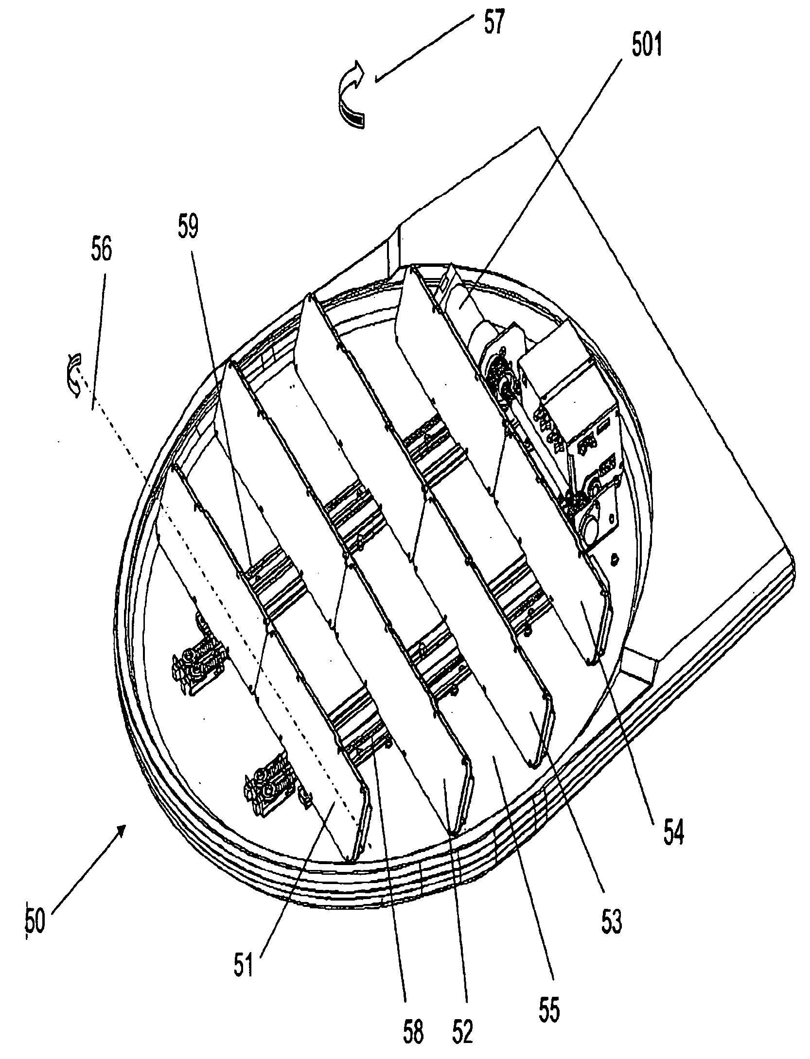
Если так, и работа на малых УМ не предусмотрена, то могла бы подойти такая антенна

Площадь больше, высота меньше. Вроде, такие тоже продавались...

Serge V Iz

Цитата: A.E от 20.09.2023 17:04:15
Цитата: mik73 от 19.09.2023 16:34:49типа РВ имеется в виду
Если так, и работа на малых УМ не предусмотрена, то могла бы подойти такая антенна

Площадь больше, высота меньше. Вроде, такие тоже продавались...

А в этой антенне имеется управление фазой каждого сегмента?

mik73

Цитата: A.E от 20.09.2023 17:04:15Вроде, такие тоже продавались...
Я такие помню в качестве первых версий того Рейсата. Потом они сделали с одной волноводной решёткой  и сложносуставчатые из моды, вроде, вышли.

Цитата: Serge V Iz от 20.09.2023 17:18:55А в этой антенне имеется управление фазой каждого сегмента?
Там всё синфазное. Раз и навсегда. По крайней мере у того, что существовало в железе. В итоге диаграмма фиксированная, а управление диаграммой - чисто механическое. Поворотом всей конструкции и наклоном сегментов. Как и на картинке с ER7000 выше, где "сегмент" один.  4 элемента позволяют сделать эффективную апертуру больше, но начинают затенять друг друга на малых углах места. Поэтому такая схема как-то не очень используется, насколько знаю.

Но что там собираются делать на ИСС - неизвестно.

Serge V Iz

#483
Цитата: mik73 от 20.09.2023 18:41:07Там всё синфазное. Раз и навсегда. По крайней мере у того, что существовало в железе. В итоге диаграмма фиксированная, а управление диаграммой - чисто механическое. Поворотом всей конструкции и наклоном сегментов. Как и на картинке с ER7000 выше, где "сегмент" один.  4 элемента позволяют сделать эффективную апертуру больше, но начинают затенять друг друга на малых углах места. Поэтому такая схема как-то не очень используется, насколько знаю.

Так вот и интересно стало. Нельзя наклонить сегмент и изменить угол места, не нарушив фазовые соотношения. Но можно еще и сдвинуть-раздвинуть сегменты, или добавить (механический, связанный кулачковым механизмом) фазовращатель. Или комбинировать способы. )

(Вдруг там всё так просто, что можно подумать, как это в радиолюбителькую решетку применить :D )

mik73

Цитата: Serge V Iz от 20.09.2023 18:45:48Нельзя наклонить сегмент и изменить угол места, не нарушив фазовые соотношения.
Почему? Каждый сегмент - отдельная антенна в сущности.  Наклоняешь все 4 (или два или сколько есть) одновременно на один и тот же угол. Все расстояния (и фазовые соотношения) между сегментами сохраняются вроде бы.
Цитата: Serge V Iz от 20.09.2023 18:45:48Вдруг там всё так просто, что можно подумать, как это в радиолюбителькую решетку применить
Ну давно в радиолюбительской юности была у нас антенна для "полевых дней" - 9 этажей по 5 элементов Яги, соединенные шлейфом так, что получалось синфазно. На 430 Мгц. И как её только не крутили и не наклоняли :)  Главное чтобы при этом сегменты своё относительное положение сохраняли.

Serge V Iz

Цитата: mik73 от 20.09.2023 23:31:54Наклоняешь все 4 (или два или сколько есть) одновременно на один и тот же угол. Все расстояния (и фазовые соотношения) между сегментами сохраняются вроде бы.
Это если их все вместе с основанием. Как ту решётку из волновых каналов. Но это же того... проще уж просто тарелку с приводами поставить.

По чертежу мне показалось, что сегменты поворачиваются каждый вокруг своей оси. И подумалось -- а вдруг там есть какое-то красивое решение для обеспечения синфазности. )

A.E

Ось Аз общая, оси УМ разные, но параллельны и привод один.
Точность изготовления и качество шарниров и сборки решают. Общий луч может расползтись от износа механизма, наверное.

A.E

Цитата: mik73 от 20.09.2023 23:31:54Каждый сегмент - отдельная антенна в сущности. 
А нет ли смысла делать сегменты отдельно на прием или передачу...

Serge V Iz

Вот такой вопрос:
Вы не можете просматривать это вложение.

Есть там какая-то хитрость...

alexx_57


нет там никакого секрета, разность фаз компенсируется длинной соединительных кабелей.

A.E

Цитата: Serge V Iz от 21.09.2023 11:29:42Вот такой вопрос:
Встречный вопрос: как компенсировать разницу фаз на краях одной панели неподвижной Афар..

Serge V Iz

Цитата: A.E от 21.09.2023 14:02:57
Цитата: Serge V Iz от 21.09.2023 11:29:42Вот такой вопрос:
Встречный вопрос: как компенсировать разницу фаз на краях одной панели неподвижной Афар..
С помощью фазовращателей. Но там их очень много надо -- на каждый элемент. А тут, допустим, если половина панелей прм, а другая прд, можно и парой всего обойтись. Наверное.

thunder26

Цитата: mik73 от 20.09.2023 18:41:07
Цитата: A.E от 20.09.2023 17:04:15Вроде, такие тоже продавались...
Я такие помню в качестве первых версий того Рейсата. Потом они сделали с одной волноводной решёткой  и сложносуставчатые из моды, вроде, вышли.

Цитата: Serge V Iz от 20.09.2023 17:18:55А в этой антенне имеется управление фазой каждого сегмента?
Там всё синфазное. Раз и навсегда. По крайней мере у того, что существовало в железе. В итоге диаграмма фиксированная, а управление диаграммой - чисто механическое. Поворотом всей конструкции и наклоном сегментов. Как и на картинке с ER7000 выше, где "сегмент" один.  4 элемента позволяют сделать эффективную апертуру больше, но начинают затенять друг друга на малых углах места. Поэтому такая схема как-то не очень используется, насколько знаю.

Но что там собираются делать на ИСС - неизвестно.
Не получается синфазное при повороте если они были синфазными когда были в одной плоскости. Об этом у Serge и вопрос 
Очень трудно сделать точный прогноз, особенно о будущем (с) Нильс Бор

Serge V Iz

Цитата: thunder26 от 21.09.2023 17:30:04Не получается синфазное при повороте если они были синфазными когда были в одной плоскости. Об этом у Serge и вопрос 
Да, я именно об этом.

Просто, если там и тогда была чистая механика (?), может, чего интересное придумали.

A.E

В том патенте эта тема не раскрыта:
ЦитироватьThe array type comprises at least three sub-groups depending on the antenna beam steering means: 1) fully electronic (such as the one disclosed in U.S. Pat. No. 5,886,671 Riemer et al.); 2) fully mechanical steering; and 3) combined electronic and mechanical steering. The present invention relates to the latter two sub-groups.
... common RF combining/splitting device 552, which may provide combining/splitting of the signals, changing the phase or time delay for each antenna arrangement to combine the signals for each panel in a predetermined relationship with the tracking elevation angle and corresponding instantaneous distance between antenna arrangements ...
https://insight.rpxcorp.com/patent/US20080018545A1#claims

mik73

#495
Цитата: thunder26 от 21.09.2023 17:30:04Не получается синфазное при повороте если они были синфазными когда были в одной плоскости. Об этом у Serge и вопрос 
Да, действительно. Получилось как в том анекдоте - "а 90 градусов это прямой угол".

Цитата: Serge V Iz от 21.09.2023 17:49:23Просто, если там и тогда была чистая механика (?), может, чего интересное придумали.
Эти штуки - с несколькими элементами - я в руках не держал (они вообще как-то быстро из поля зрения исчезли - моего по крайней мере) и как сделаны - не разбирался,  но в фантазийном порядке - компенсировать возникающую разницу фаз за счёт длин трасс можно, например, как-то так. Идея с потолка, , но вроде выглядит ;). Имеется в виду механический ползунок - что-то типа rotary joint - который ходит синхронно с наклоном панелей - путь от "ближней" к источнику сигнала панели удлиняем, от "дальней" - укорачиваем.
Вы не можете просматривать это вложение.

Цитата: A.E от 21.09.2023 11:07:32А нет ли смысла делать сегменты отдельно на прием или передачу...
Смысл бывает. И так делают - от конструкции самой решётки зависит (бывает одну  и ту же решётку на приём и передачу заставить работать - ну никак). Еще и разного размера делают (на передачу - можно передатчик помощнее воткнуть, а антенну поменьше сделать). Но тогда это две разных антенны получаются, а на картинке 4 - как минимум две на прием две на передачу (если не предположить, что это еще и на два диапазона).

A.E

Вероятно, делать панели для приём или передачи отдельно бывает смысл и с точки зрения упрощения производства...

A.E

Цитата: mik73 от 22.09.2023 12:46:59механический ползунок - что-то типа rotary joint -
Вероятно, это приемлемо для промежуточной частоты, L или около, но не для Ку. Значит, buc/ LNB на каждой панели...

zandr

#498
В этот раз лажанулся я. С местом размещением новости про ФАР для терминалов спутниковой связи.

Вся беседа перенесена.

mik73

#499
Цитата: A.E от 23.09.2023 08:21:21Вероятно, это приемлемо для промежуточной частоты, L или около, но не для Ку. Значит, buc/ LNB на каждой панели...
Ну да. Как раз повсеместно применяющиеся rotary joint  L-диапазоне  на мысль и навели. Хотя тоже все не так просто там устроено.
 Опять же BUC можно завести только на одну панель - взяв помощнее, а по приему сложить сигнал с трёх и будет хорошо (если там полосковая решётка, так у неё есть проблема с тем, что при росте кол-ва элементов сильно растёт собственный шум, поэтому всяко выгоднее брать несколько решёток поменьше, усиливать сигнал с каждой отдельно и потом складывать - хоть и сложнее/дороже).
 У афар, кстати, вообще отдельный (маленький) BUC и LNB на каждом элементе решётки или небольшой их группе ставится (у Маска, например, на каждых 8 из 512, если правильно помню). Но там по другому никак (точнее, может и как, но слишком уже сложно будет).

А на пассивных решётках - видимо как раз поэтому после появления той волноводной ER7000 - многопанельные конструкции, по крайней мере от RaySat, быстро исчезли. А так - много с чем человечья мысль экпериментировала и продолжает.