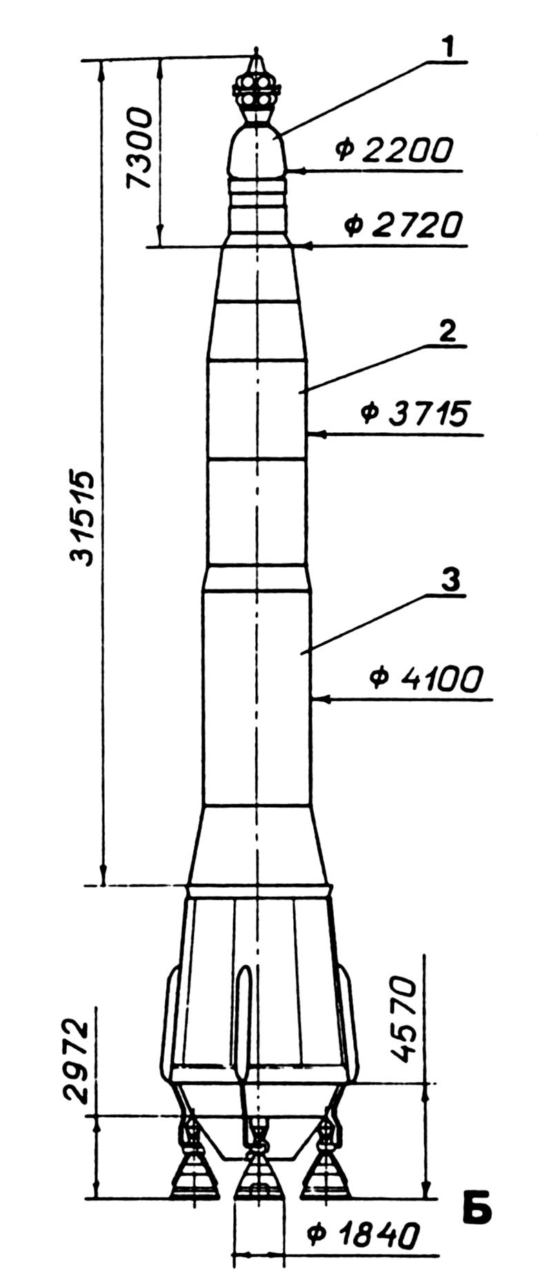
История Н1-Л3

Автор Шамс, 25.02.2022 15:19:52

« назад - далее »

0 Пользователи и 2 гостей просматривают эту тему.

космосмурф

Кстати, для информации, параллельно с выходом моего документального фильма я готовлю веб-сайт с разделом, посвященным Н-1, где, помимо технической информации, будут представлены все изображения, документы, видео, которые я смог найти и отсканировать на сегодняшний день, интерактивные 3D-схемы с внутренней частью каждой версии ракеты-носителя, информацию обо всех зданиях, связанных с программой Л3, фотографии, сделанные Corona, и историю каждой из них и т. д.
Сейчас я занимаюсь созданием сайта, и как только я перейду к этапу постпродакшна документального фильма, я размещу все свои заметки и архивы на этом сайте.
Также будет магазин, где можно будет купить ультрадетальные модели в масштабе 1:200 каждой версии ракеты-носителя (не имеющие аналогов в Интернете), сувениры, посвященные Н-1, и, возможно, мои цифровые 3D-модели, которые гораздо более полные и реалистичные, чем все, что я видел на сегодняшний день.
Надеюсь, вам понравится.
Я француз, и мои сообщения переводятся через DeepL. Поэтому мои обороты речи иногда бывают странными. ))

Nick Stevens

Есть ли номера двигателей для других блоков?
Было бы хорошо иметь полный набор схем.

Шахов Ю.

В копилку редких фотографий - 1М1 на ПУ. Впервые опубликована Владимиром Антиповым 

космосмурф

Это часть той же коллекции, я полагаю.
Вы не можете просматривать это вложение.
Я француз, и мои сообщения переводятся через DeepL. Поэтому мои обороты речи иногда бывают странными. ))

zero17

Цитата: Шахов Ю. от 07.10.2025 22:54:04В копилку редких фотографий - 1М1 на ПУ. Впервые опубликована Владимиром Антиповым
красиво

zero17


космосмурф

В моих источниках указаны две разные даты установки Н1-6Л на стартовой площадке: 4 июня 1971 года или 13 июня. Не могли бы вы подтвердить эту дату, пожалуйста?
Я француз, и мои сообщения переводятся через DeepL. Поэтому мои обороты речи иногда бывают странными. ))

Вован

Цитата: космосмурф от 18.10.2025 01:49:11В моих источниках указаны две разные даты установки Н1-6Л на стартовой площадке: 4 июня 1971 года или 13 июня. Не могли бы вы подтвердить эту дату, пожалуйста?
Вывоз Н1-Л3 №6Л состоялся 13 мая 1971 года, так рано для доработок
Байконур надолго - навсегда

Вован

Цитата: космосмурф от 18.10.2025 01:49:11В моих источниках указаны две разные даты установки Н1-6Л на стартовой площадке: 4 июня 1971 года или 13 июня. Не могли бы вы подтвердить эту дату, пожалуйста?
Вывоз комплекса Н1-ЛЗС состоялся 13 мая 1971 года. После установки РН в стартовую систему на комплексе проводились заводские доработки в течение почти месяца. На старте было выявлено 144 неисправности и отказа по одной только ракете-носителю. Наиболее серьезными были:
а) в двигателе № 26 блока А в плоскости стыковки с регулятором расхода обнаружена частица с размерами 25 х 2,5 х 26 мм;
б) в двигателе № 30 частица диаметром 1 мм, толщиной 0,1 мм;
в) в двигателе № 8 – диаметром 0,4 мм;
г) в двигателе № 1 – частица размерами 2,5 х 2 х 2 мм.
В процессе доработок РН и испытаний системы управления на борту РН было заменено 9 приборов, а также один прибор РТ-52.
Всего было проведено 13 доработок, особенно много по ДУ.
По-прежнему на СК было выявлено много неисправностей по работе оборудования: 91. Наиболее серьезным явилось то, что при пневмоиспытаниях после замены датчиков на расходных трубопроводах окислителя были прорваны мембраны разъединительных клапанов окислителя, что привело к задержке пуска на 10 суток.
Первоначально пуск планировался на 23 июня, но прошедший накануне сильный ливень резко снизил сопротивление изоляции бортовой кабельной сети, так как в электроразъемы на ракете попала вода. На просушку ушло несколько дней. Находившиеся в те дни на орбите космонавты Г.Т.Добровольский, В.Н.Волков, В.И.Пацаев даже спускались с орбиты позже, так как они должны были сфотографировать пуск Н1 и ждали этого события.
Байконур надолго - навсегда

Schwalbe

Цитата: Вован от 18.10.2025 20:50:45Находившиеся в те дни на орбите космонавты Г.Т.Добровольский, В.Н.Волков, В.И.Пацаев даже спускались с орбиты позже, так как они должны были сфотографировать пуск Н1 и ждали этого события.
Очень интересно!

А дата старта экипажа привязывалась к уровню готовности Н1 к пуску? 
Я с детства не любил овал - я с детства угол рисовал.
В конце концов, повторное использование имеет мало смысла для носителя, который, кажется, никто не хочет использовать в первый раз.

космосмурф

Да, но из-за задержки запуска орбитальные параметры больше не позволяют экипажу наблюдать за запуском.
Я француз, и мои сообщения переводятся через DeepL. Поэтому мои обороты речи иногда бывают странными. ))

космосмурф

Я иногда читаю, что для Н1-8Л давление в камере сгорания НК-33 было увеличено, что позволило увеличить тягу с 150 т до 175 т. Эта простая модификация называлась «Н-1Ф».
И, согласно моим расчетам, с такой тягой полезная нагрузка была бы значительно увеличена (по крайней мере, на 98 т на низкой орбите), что противоречит тому факту, что поезд Л3 был слишком тяжелым для Н-1.
Я нахожу мало информации о 8Л, ни о его массе, ни о его грузоподъемности, поэтому мне трудно утверждать, что это действительно был Н-1Ф, или что его просто планировали сделать Н-1Ф.
Я француз, и мои сообщения переводятся через DeepL. Поэтому мои обороты речи иногда бывают странными. ))

Ну Ф - скорее всего Форсированный, что укладывается в форсирование НК-33. Другое дело, была ли 8Л форсированной, или это предполагалось сделать на более поздних ракетах, это надо разбираться...
КАКТОТАК
----------------------------
Моделью ракеты можно достичь модели Марса

космосмурф

#3353
Да, «Ф» означает «Форсированный». Я знаю, что в 1976 году НК-33 был сертифицирован для тяги 175 т. НК-33-1 развивал тягу 185 т, а AJ-26 — только 150 т. О Н1-8Л ничего не знаю.
Я француз, и мои сообщения переводятся через DeepL. Поэтому мои обороты речи иногда бывают странными. ))

Шахов Ю.

#3354
К вопросу расположения двигателей на Блоке А

космосмурф

Очень интересный документ, спасибо. Не могли бы вы рассказать, что представляют собой все трубы, которые здесь видны? Они похожи на систему подачи топлива 11Д121 (горячий кислород и РГ-1), но я не уверен. В частности, направление стрелок в центре скорее указывает на то, что эти трубы подают газ или жидкость в центр или вверх, а не к 11Д121.
Текст не очень помогает понять: «Коллектор циркуляции», «Коллектор наддува» и последний, который обрезан «Konn гор» (у вас есть недостающая часть?). Не могли бы вы предоставить больше контекста, пожалуйста?
Я француз, и мои сообщения переводятся через DeepL. Поэтому мои обороты речи иногда бывают странными. ))

Шахов Ю.

#3356
Коллектор наддува отбирает от двигателей кислый газ и направляет его через теплообменник, где он используется для нагрева гелия, применяемого при наддуве бака "Г". После теплообменника газ поступает через распылитель в бак "О", обеспечивая его наддув.

Система циркуляции - отвод окислителя, захолаживающего двигатели до пуска изделия. Отработанный окислитель просто сливается обратно в соответствующий бак.

В обрезанной части - коллектор горючего. Насколько понял, то так обобщённо показан подвод топливных компонентов

космосмурф

«Коллектор горючего» не соответствует трубопроводам подачи топлива к главным двигателям, поскольку каждый двигатель имеет отдельный трубопровод, идущий от топливного бака, а здесь мы видим, что все они объединены в один трубопровод.
Это, вероятно, система объединения различных линий подачи топлива специально для 4 двигателей, контролирующих кренение.
Я француз, и мои сообщения переводятся через DeepL. Поэтому мои обороты речи иногда бывают странными. ))

Шахов Ю.

Цитата: космосмурф от 14.08.2022 12:15:33Важная информация: согласно этим фотографиям, на которых показаны трубопроводы керосина, которые проходят в обход кислородного бака, существует магистраль газа или жидкости, которая циркулирует от нижней части Блока А к верхней части (или наоборот):
Рис. 4

Это трубопроводы кислого газа, функционал которого описал в прошлом сообщении. 6 штук, диаметр 51 мм.

Также должно быть 6 трубопроводов окислителя (с коллектора циркуляции) диаметром 77 мм, но они то ли не смонтированы, то ли это характерно только для поздних носителей (7Л, 8Л)

Шахов Ю.

Цитата: космосмурф от 30.10.2025 19:46:41«Коллектор горючего» не соответствует трубопроводам подачи топлива к главным двигателям, поскольку каждый двигатель имеет отдельный трубопровод, идущий от топливного бака, а здесь мы видим, что все они объединены в один трубопровод.
Это, вероятно, система объединения различных линий подачи топлива специально для 4 двигателей, контролирующих кренение.

Действительно, коллектор горючего отбирает керосин на выходе из ТНА маршевиков внешнего кольца для питания 11Д121. 

Каждый из двух независимых коллекторов получает горючее от 12 двигателей и обеспечивает питание 2 рулевиков.

Очень сильное дублирование ради повышения надёжности