ЭНЕРГИЯ сегодня показала КЛИПЕР

Автор X, 30.11.2004 19:34:57

« назад - далее »

0 Пользователи и 1 гость просматривают эту тему.

Bell

Цитировать
ЦитироватьКак можно - и нужно - использовать Клипер при полётах к Марсу? :)

У кого какие соображения?

К Луне почему-то представить проще :) тем более на низкую орбиту. А вот к Марсу...

Мое такое скромное мнение, что для марсианской экспедиции Клипер нужен только на начальном этапе (доставка экипажа на марсианский корабль) и на конечном (доставка того же экипажа с корабля на Землю). Таскать Клипер с собой на Марс и обратно, это сущий БРЕД.
:lol:
И как вы представляете себе его наличие на начальном и конечном этапах без полета к Марсу?  :lol:
Иногда мне кажется что мы черти, которые штурмуют небеса (с) фон Браун
А гвоздички-то были круглые (с) Брестская крепость

avmich

Интересно то, что журналисты... и даже рекламные материалы Энергии упорно упоминают Марс, говоря о Клипере. А полёт на Марс - это несколько другое, чем полёт на Луну... поэтому и интересно, как они предполагают его использовать?

Bell

Мнэ...
Странно, у меня на этот счет никога никаких вопросов не возникало  :?

Совершенно очевидно(с), что на Марс должен лететь экипаж ~6 человек. Так же очевидно, что доставлятся на МЭК и возвращатся на Землю лучше в одном КК, а не в двух - один КК всегда будет легче, что очень критично для марсианской экспедиции.
Т.е. в составе МЭКа должен быть КК на 6 человек.
Чем он отличается от Клипера? Да только способностью приземлятся со 2КС, но это вроде изначально закладывается или хоть предполагается из расчета лунных экпедиций.

В любом случае, Клипер - аналог CEV, а тот (вернее его СА) сразу расчитывают и на ЛЕО, и на Луну, и на Марс.
Иногда мне кажется что мы черти, которые штурмуют небеса (с) фон Браун
А гвоздички-то были круглые (с) Брестская крепость

X

Цитировать
Цитировать
ЦитироватьКак можно - и нужно - использовать Клипер при полётах к Марсу? :)

У кого какие соображения?

К Луне почему-то представить проще :) тем более на низкую орбиту. А вот к Марсу...

Мое такое скромное мнение, что для марсианской экспедиции Клипер нужен только на начальном этапе (доставка экипажа на марсианский корабль) и на конечном (доставка того же экипажа с корабля на Землю). Таскать Клипер с собой на Марс и обратно, это сущий БРЕД.
:lol:
И как вы представляете себе его наличие на начальном и конечном этапах без полета к Марсу?  :lol:

Это же элементарно, Ватсон. Раз аппарат участвует в проведении каких то операций, значит он в программе участвует, но к Марсу при этом не летит. Ежу понятно, что спускаться на Марс в Клипере не будут, взлетать с него тоже. А чтобы спуститься на Землю, не обязательно таскать с собой лишних бесполезных 12-15 тонн груза. Проще осуществить выход на околоземную орбиту с использованием торможения в атмосфере, состыковаться с имеющейся в то время ОКС и далее на Клипере. Кстати, в этом случае ОКС тоже становится элементом марсианской программы, при этом к Марсу она летать не будет.

serb

ЦитироватьА чтобы спуститься на Землю, не обязательно таскать с собой лишних бесполезных 12-15 тонн груза. Проще осуществить выход на околоземную орбиту с использованием торможения в атмосфере, состыковаться с имеющейся в то время ОКС и далее на Клипере. Кстати, в этом случае ОКС тоже становится элементом марсианской программы, при этом к Марсу она летать не будет.

Боюсь, торможение в атмосфере ажно целого марсианского корабля массой минимум с ББ "Мира" минимум (а то и 2-3) будет в весовом отношении подороже, чем 12-15 тонн пристегнутого "Клипера".

Не говоря уже о том, что аэродинамическое торможение - вещь такая, проще уж сразу сесть, чем к МКС подниматься.

Так что Клипер по весу дешевле будет.
ИМХО, конечно ;-)

Nixer

Клипер копирует локхидмартиновский проект CEV. У них тоже корабль отстреливает разгонный блок перед посадкой, с адится на крыльях и крепится при старте сверху ракеты.

serb

ЦитироватьКлипер копирует локхидмартиновский проект CEV.
... вот только опубликован проект Клипера ЕМНИП был раньше CEVовского.

Впрочем, задолгоо до них обоих был "Гермес" ;-)
ИМХО, конечно ;-)

Yegor

Цитировать
ЦитироватьА чтобы спуститься на Землю, не обязательно таскать с собой лишних бесполезных 12-15 тонн груза. Проще осуществить выход на околоземную орбиту с использованием торможения в атмосфере, состыковаться с имеющейся в то время ОКС и далее на Клипере. Кстати, в этом случае ОКС тоже становится элементом марсианской программы, при этом к Марсу она летать не будет.

Боюсь, торможение в атмосфере ажно целого марсианского корабля массой минимум с ББ "Мира" минимум (а то и 2-3) будет в весовом отношении подороже, чем 12-15 тонн пристегнутого "Клипера".

Не говоря уже о том, что аэродинамическое торможение - вещь такая, проще уж сразу сесть, чем к МКС подниматься.

Так что Клипер по весу дешевле будет.

ИМХО: А что, если два Союза взять  :roll: ? Они по весу 14 тонн. Они уже есть – можно кучу денег сэкономить не разрабатывая Клипера  :wink: .

По моему мнению, единственное оправдание Клипера это туризм. Космический туризм это золотая жила для России, если цену билета снизить до около (ИМХО) 5 млн.$.

Nixer

ЦитироватьВпрочем, задолгоо до них обоих был "Гермес"

Нет, Гермес существенно отличается. А у Клипера и локхидмартиновского CEVа сходство даже в мелочах, например, на обоих отсутствуют передние иллюмираторы.

avmich

Обсуждали уже :) .

Для примера, два Союза требуют два запуска ракеты-носителы. В то время как один запуск Клипера - одной. Если удастся сделать эту одну дешевле двух Союзов - полёт Клипера будет дешевле :) по РН.

ronatu

ЦитироватьБоюсь, торможение в атмосфере ажно целого марсианского корабля массой минимум с ББ "Мира" минимум (а то и 2-3) будет в весовом отношении подороже, чем 12-15 тонн пристегнутого "Клипера"...


Не надо бояться - есть другие способы
Например раскрутка-закрутка на ионных двигателях вокруг планеты
И нырять не надо :)
Когда жизнь экзаменует - первыми сдают нервы.

serb

ЦитироватьНе надо бояться - есть другие способы
Например раскрутка-закрутка на ионных двигателях вокруг планеты
И нырять не надо :)

А рабочее тело для торможения плюс радиационная защита для длительного полета в поясах впишутся в 12-15 тонн?
ИМХО, конечно ;-)

frost_ii

Тяжелее будет. Потому что нужно учесть - разгон к Марсу, торожение у Марса, разгон от Марса... Сколько набежит?

При возвращении к Земле комплекс будет легче ровно на посадочный модуль...

frost_ii

Цитировать
ЦитироватьНе надо бояться - есть другие способы
Например раскрутка-закрутка на ионных двигателях вокруг планеты
И нырять не надо :)

А рабочее тело для торможения плюс радиационная защита для длительного полета в поясах впишутся в 12-15 тонн?

А зачем в поясах летать? Можно остановиться и выше. И с учётом прогонки Клипера к Марсу и обратно, это будет со-овсем не 12-15 тонн..

serb

ЦитироватьИ с учётом прогонки Клипера к Марсу и обратно, это будет со-овсем не 12-15 тонн..

А топливо что, не надо к Марсу и назад гонять? ;-)
ИМХО, конечно ;-)

Bell

ЦитироватьКлипер копирует локхидмартиновский проект CEV. У них тоже корабль отстреливает разгонный блок перед посадкой, с адится на крыльях и крепится при старте сверху ракеты.
Ну это вы просто мало знаете. Патенту, на котором основан Клипер уже считай 10 лет.

И вот еще что:
Давайте не будем изобретать велосипед только потому, что кого-то удивляет "Как?? Клипер - на Марс???". Шестиместный КК есть практически ВО ВСЕХ проектах МЭКа. Клипер такому КК вполне соответствует, осталось только увеличить ТЗП, как на Союзе-Л.

Имхо, совершенно бессмысленный флуд.  :(
Иногда мне кажется что мы черти, которые штурмуют небеса (с) фон Браун
А гвоздички-то были круглые (с) Брестская крепость

Nixer

А что за патент, интересно? Он наш или американский? CEV основан на том же патенте?

Bell

ЦитироватьА что за патент, интересно? Он наш или американский? CEV основан на том же патенте?
НАШ! НАШ родной патент, роде энергиевский. Никакой CEV и близко не лежал. В том-то все и дело.
См. у Вэйда, страница про Клипер. Щас поищу.

http://www.astronautix.com/craft/kliper.htm

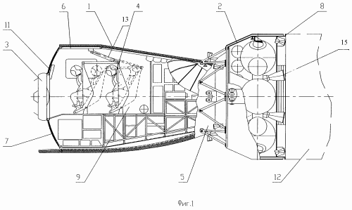
Alternate configuration of the Kliper space plane. Drawing from Russian patent RU 2220077, assigned to Semenov, Head of RKK Energia

Не смотрите на то, что космонавты сидят задом наперед - главное конфигурация ВА и принцип посадки.
Иногда мне кажется что мы черти, которые штурмуют небеса (с) фон Браун
А гвоздички-то были круглые (с) Брестская крепость

frost_ii

Цитировать
ЦитироватьИ с учётом прогонки Клипера к Марсу и обратно, это будет со-овсем не 12-15 тонн..

А топливо что, не надо к Марсу и назад гонять? ;-)

Во-первых не топливо, а рабочее тело.
Во-вторых есть формула Циолковского. И есть небольшая разница, куда добрасывать массу - в числитель или в знаменатель...
В-третьих, брать возвращяемый модуль, конечно имеет резон, если лететь на керосине. То есть такое решение имеет оправдание в случае крайне низких Iуд.

serb

ЦитироватьВо-первых не топливо, а рабочее тело.
Во-вторых есть формула Циолковского. И есть небольшая разница, куда добрасывать массу - в числитель или в знаменатель...
В-третьих, брать возвращяемый модуль, конечно имеет резон, если лететь на керосине. То есть такое решение имеет оправдание в случае крайне низких Iуд.

В том-то и дело, что рабочее тело на протяжении разгона к Марсу, торможения у Марса и разгона к Земле находится в том же самом числителе, что и Клипер :-)

Ну, давайте посчитаем. Возьмем данные Энергиевского проекта.

Мощность - 15 х 10Е6 Вт
Стартовая масса - 600 тонн
Масса по возвращении - ок. 150 тонн
Isp - около 4000 секунд
Дельта V при торможени у Земли - ок. 7 км/с (за счет малой тяги).
Соответственно, масса рабочего тела - ок. 30 тонн.

Так что выгоднее - таскать к Марсу и назад 12 тонн или 30? :-)
ИМХО, конечно ;-)