Рутан

Автор Agent, 09.04.2004 08:32:18

« назад - далее »

0 Пользователи и 2 гостей просматривают эту тему.

ronatu

ЦитироватьХм-м-м... потянуть-то может неслабо...
А вот привозвращении из таких далей пупок не развяжется? Там тепловые нагрузочки поболе будут.

Где-нибудь уже показывали хоть какие-нибудь эскизи SS2? Оченно уж хочется взглянуть - как оно выглядит. :)


... neither will be unveiled until late 2007, when flight tests are expected.
Когда жизнь экзаменует - первыми сдают нервы.

Кенгуру

ЦитироватьНу, это мне кажется сильно вряд ли :) Ну сотни две, от силы...
Для стыковки с МКС достаточно. На скорости.


ЦитироватьНе подскажите, какая навскидну нужна ХС, чтобы подпрыгнуть на 1.5 сотни? (без учёта грав потерь)
Боюсь, что не подскажу. :)
http://goo.gl/vbKbqn">Самообеспечивающаяся станция-сфера с центрифугой Будущее за независимыми от Земли станциями добывающими полезные ископаемые на астероидах http://goo.gl/KNfIuz">Материалы

ronatu

http://www.denverpost.com/business/ci_3964638#




SpaceDev chief executive Mark Sirangelo stands next to a model of the aerospace company s Dream Chaser spacecraft. The company, based in Poway, Calif., is leading a Colorado-based team vying for a $500 million NASA contract.



Ещё 16 ноября 2005 SpaceDev заявила, что берётся за разработку корабля "Охотник за мечтой" (Dream Chaser) на основе концепции челнока HL-20, которой NASA увлекалось в 1980-х.

NASA был построен полномасштабный прототип, но функциональный образец так и не был создан.

10 с лишним лет проектирования, создание полномасштабного прототипа и $2 миллиарда всё же не позволили HL-20 полететь в  космос. Проект HL-20 был свёрнут примерно 10 лет назад, а его детали стали доступны публике, чем SpaceDev и воспользовалась. ...

http://www.membrana.ru/articles/technic/2005/11/17/202300.html

The company's Dream Chaser spacecraft is designed to take up to six passengers into space and return them to any runway in the world. It could ferry astronauts and cargo to the international space station. The craft would also be available for private space tourists.

SpaceDev is based in Poway, Calif., but has most of its 200 employees - including chief executive Mark Sirangelo - in Boulder. If the SpaceDev team wins the contract, Colorado could gain 200 to 400 new jobs, said Sirangelo.
Когда жизнь экзаменует - первыми сдают нервы.

ronatu

The next-generation spacecraft is part of NASA's Commercial Orbital Transportation Services program. That is separate from NASA's Crew Exploration Vehicle program.

Aerospace giants Lockheed Martin and Northrop Grumman are competing for the multibillion-dollar CEV project, which will replace the space shuttle.

The COTS program involves smaller firms, such as SpaceDev.

"NASA is trying to look to a different model, and the model is rather than building, managing and operating space vehicles, they would buy the service," Sirangelo said. "It's a taxi delivery, FedEx-to-space kind of thing."
NASA is looking to find "a cheaper way to get into space," said John Knudsen, co-founder of Adam Aircraft, which is building the airframe for the spacecraft. "It's a pretty fascinating project."

NASA deputy administrator Shana Dale has said this program "establishes a precedent."

"For the first time ever, NASA is seeking nongovernment vehicles and commercial services to provide these capabilities for human spaceflight," Dale said at a space conference March 22 in Washington, D.C.
Когда жизнь экзаменует - первыми сдают нервы.

ronatu

Странно что никого это не взволновало....[/size]
Когда жизнь экзаменует - первыми сдают нервы.

Игорь Суслов

ЦитироватьСтранно что никого это не взволновало....[/size]
Да тут не по-русски написано!!!!
Спасибо не говорю, - уплачено...

ronatu

Перевод с Мембраны:[/size]


Калифорнийская компания SpaceDev официально представила точный полномасштабный макет своего будущего космического корабля "Охотник за мечтой" (Dream Chaser), претендующего на $500-миллионный контракт NASA в рамках программы "Коммерческая орбитальная транспортировка" (Commercial Orbital Transportation Services — COTS).


Программа COTS предусматривает привлечение на конкурсной основе небольших частных фирм к различным задачам агентства, в частности, по обслуживанию МКС. И хотя агентство развивает собственный пилотируемый космический корабль нового поколения — CEV, размышления о его облике и проекты-соперники привели NASA к тому, что "официальный" американский космос вооружится многоразовым (не считая некоторых элементов) аппаратом, спроектированным заново, но по форме — идеологическим наследником старого доброго "Аполлона".


А поскольку едва ли не главная цель CEV — участие в новой высадке людей на Луну, для доставки экипажей на МКС он может оказаться несколько накладным (хотя и не таким дорогим, как нынешний шаттл).


Потому частные аппараты от молодых и амбициозных фирм, как и небольшие частные ракеты-носители, проектируемые сейчас целой когортой соперничающих компаний, могут предоставить агентству желаемое "такcи на орбиту" по умеренной цене. И проект SpaceDev здесь — один из наиболее реалистично выглядящих и проработанных.


Подробное описание "Охотника за мечтой" вы можете найти в этом материале. Напомним лишь, что самостоятельно этот шестиместный аппарат будет способен летать по суборбитальной траектории, а будучи водружённым на оригинальную ракету-носитель (также — разработки SpaceDev) сможет доставлять людей и небольшие грузы прямо "к порогу" Международной космической станции.
Когда жизнь экзаменует - первыми сдают нервы.

Agent

Свежее интервью Рутана

http://www.space.com/news/060811_rutan_interview.html

ЦитироватьMOJAVE, CALIFORNIA – As you stroll through the desert airport/spaceport here, you don't see a "Keep Out! Spaceliner Under Construction" sign. On the other hand, there's a palpable feeling that behind closed hangar doors, the future of public space travel is, indeed, a work in progress—and in good hands.

At Scaled Composites—home of the privately financed and built SpaceShipOne that made a trio of piloted suborbital flights in 2004 under the rubric of Tier 1—the fabrication of a fleet of passenger-carrying space planes and huge carrier launch planes is underway. This activity is labeled Tier 1b.

Burt Rutan, head of the firm, is chief design maestro leading a spaceliner workforce. While he's not about to roll out blueprints or show you factory floor hardware, he gave this reporter a squat down, legs folded, but relaxing beanbag chair interview in his office to discuss the business of public space travel.

Wanted: breakthroughs

"First of all, just because people have kind of discovered 'Oh, now we can have a personal commercial spaceflight industry' ... that doesn't mean we can just throw money at the problem and send people to resort hotels in orbit," Rutan told SPACE.com.

Rutan admitted that he's frustrated but committed to building suborbital spaceships.

"I'd love to be working on going to the Moon. I'm doing this really because I don't think I can convince a funder to go out and invest in an orbital system that we're not sure would work."

In Rutan's plotting of things to come, Tier 2 is orbital.

"My bottom line is that we have to have some kind of breakthroughs," Rutan explained. "What's needed is to create an environment to have breakthroughs ... to try things that may seem illogical at first."

Long-shot

Looking back on SpaceShipOne, Rutan said the focus was on safety, on recurring cost, and asking the question: "When we're done with this, if it worked, could it lead right into flying the public? Could it be safe? I don't think that's been done to go to orbit," he said.

While Microsoft mogul, Paul Allen, bankrolled SpaceShipOne and had a lot of confidence in the effort, Rutan added that the investor confessed later that he did think the suborbital project "was a real long-shot."

"I'm focusing now on going ahead and doing something that I never did with airplanes. That is, not just do research but go ahead and build something that would be certified. Produce it and sell it to spacelines and let them go out there and compete with each other to fly the public," Rutan said.

His hunch is that by profitably flying people by the tens of thousands, the funding pump will be primed, and the recognition fostered that breakthroughs are needed for a high-risk orbital spaceship research program.

"I'm getting a commercial system going for one reason: I don't think anybody else will," Rutan explained. "I think it's really important for me to build a lot of them," he added, not just a few for Sir Richard Branson's Virgin Galactic, "but a lot of them."

Must have checklist

In building the multi-passenger SpaceShipTwo, Rutan offered a design glimpse of what's in store for ticket-paying suborbital travelers.

Along with lots of windows, a close second on the "must have" checklist is for customers to experience weightlessness. A person in SpaceShipTwo will feel just four minutes of freefall, so having a great big cabin is extremely important, Rutan pointed out, "to be able to stretch out your arms and legs and float around."

To gain some think space about weightlessness, Rutan took his own fact-finding flight aboard the private Zero Gravity Corporation's aircraft.

"The impression you get is that it's important to know why you're floating, so you need windows. You want to fly...you don't want to be strapped in. And to experience weightlessness in shirtsleeve is important, not being bothered with a pressure suit or tied down to a cable or having a helmet on," he said.

Mega-mothership

Given SpaceShipTwo's flight path to the edge of space and back, the four minutes of freefall gives you what it would be like to live in orbit for weeks, Rutan suggested. Coming back into the atmosphere, he said, passengers would float gently to the craft's floor as it takes more than 40 seconds to reach one-gravity.

"That's the reason we feel we'll easily be able to certify people floating around and getting into a seat...more of a bed to lay flat," Rutan said.

Hauling a SpaceShipTwo into launch position will require use of a mega-mothership that's patterned after the White Knight aircraft utilized for the Tier 1 program.

That giant airplane will have an identical cabin like that built into SpaceShipTwo. You can take up people and float them out of their chairs. "They can't tell they are not in the spaceship," Rutan said.

The mothership will be an aerobatic airplane, Rutan said, able to provide rehearsal runs that produce seconds of weightlessness for future suborbital space travelers, as well as offer a view of the dark blue sky at 50,000 feet (15 kilometers).

"They can practice floating around, playing games, and to get into their positions for reentry and deceleration. We'll be able to give them the entire reentry g profile and I think that's extremely important," Rutan noted. "So we've got something here that I think is very special."

Natural selection

Branson has on order a fleet of spaceliners. But there were other offers before Branson's investment proposal was picked, Rutan confided. "He was selected as an investment source because he was very early telling everybody what he was going to do, and usually I'm against that. But he's putting his reputation on the goal of this program ... doing that on day one."

Rutan said that his biggest concern was investment money "getting chicken" on the courage to take risk and to move forward to tackle issues. "I felt that Branson was making commitments so that he, even without me, had to finish it," he said.

Taking a long look out to the next ten to twelve years, Rutan predicted that "there's going to be some very good news and some very bad news."

The bad news, Rutan advised, is related to the government space programs. "I hate to say that, but the reason is that they are just structured so there will be a lot of money spent and they are not likely to reap the benefits that are going to help us."

The good news, Rutan suggested as a guess, is that there will be breakthroughs forthcoming, stemming from what happens after the first generation of suborbital craft—including competitors, now known and unknown—take to the sky.

"We need what amounts to natural selection to work. Nobody is smart enough to know ahead of time whether something is the right answer. You've got to field the good ones and bad ones for the good ones to float to the top," Rutan said.

Кенгуру

ЦитироватьСвежее интервью Рутана

http://www.space.com/news/060811_rutan_interview.html

ЦитироватьLooking back on SpaceShipOne, Rutan said the focus was on safety, on recurring cost, and asking the question: "When we're done with this, if it worked, could it lead right into flying the public? Could it be safe? I don't think that's been done to go to orbit," he said.

Вот значит почему он сам не летал на своём ССВан. Рисковал жизнью лётчика значит.
http://goo.gl/vbKbqn">Самообеспечивающаяся станция-сфера с центрифугой Будущее за независимыми от Земли станциями добывающими полезные ископаемые на астероидах http://goo.gl/KNfIuz">Материалы

ronatu

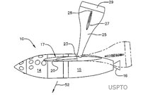
Patent for Winged spacecraft Assigned to Burt Rutan

STATUS REPORT
Date Released: Sunday, April 8, 2007
Source: US Patent and Trademark Office

Abstract

A rocket-powered spacecraft having a wing which has hinged aft portions which can be elevated about a hinge line. Tail booms extend rearwardly from the outer ends of the aft wing portions, and rudders are mounted at the aft ends of the booms. Each tail boom supports a horizontal tail with an elevon at its trailing edge. In normal flight, the wing aft portions are not elevated, and the wing has a normal airfoil shape. During atmosphere reentry, the wing aft portions are steeply elevated to provide a stable high-drag altitude for the spaceship for speed reduction at low thermal and structural loading. After reentry, the aft wing is returned to an unelevated position which enables gliding flight to a horizontal-runway landing.



Inventors: Rutan; Elbert L. (Mojave, CA)
Assignee: Mojave Aerospace Ventures, LLC (Seattle, WA)
Appl. No.: 10/515,777
Filed: March 29, 2004
PCT Filed: March 29, 2004
PCT No.: PCT/US2004/009695
371(c)(1);
INSERT INTO phpbb_posts_text VALUES (2);
INSERT INTO phpbb_posts_text VALUES (4) Date: November 01, 2005
PCT Pub. No.: WO20/04/092013
PCT Pub. Date: October 28, 2004

Claims

What is claimed is:

1. A spacecraft with a fuselage, right and left wings extending from the fuselage, the wings having hinged aft sections with outer ends supporting rearwardly extending tail booms with vertical and horizontal tails with rudders and elevons, and an elevating system coupled between the fuselage and the aft wing sections for moving the sections from a normal airfoil shape to an elevated position producing high drag for slowing the spacecraft during atmospheric reentry after space flight, the elevating system thereafter retracting the aft wing sections to the normal airfoil shape for a controlled generally horizontal runway landing.

2. The spacecraft defined in claim 1, wherein reentry in the elevated position is stable, and at a steep descent angle with the fuselage generally horizontal.

3. The spacecraft defined in claim 1, wherein the hinged aft wing sections have a width of about one-third of a total width of the wing.

4. The spacecraft defined in claim 1 wherein the aft wing sections are rotated upwardly about 65 degrees in the elevated position.

5. The spacecraft defined in claim 1, wherein the elevating system includes pneumatic actuators.

6. The spacecraft defined in claim 1, and further comprising a pilot-controlled lock system for locking the aft wing sections in the normal airfoil shape, the lock system being disengageable before actuation of the elevating system.

7. The spacecraft defined in claim 6, wherein the lock system includes pneumatic actuators.

8. The spacecraft defined in claim 1, and further comprising means for rigidly connecting together the aft wing sections.

Description

BACKGROUND OF THE INVENTION

Atmospheric reentry of a returning spacecraft is a critical flight phase due to high structural and thermal-heating loads. Horizontal-landing modern spacecraft intended for runway landing require three-axis control and more lift as compared to early blunt-body spacecraft (Mercury, Gemini, etc.), which were lowered by parachute during landing. This invention relates to a winged spacecraft which is reconfigurable during reentry to a stable high-drag mode, and then returned to a regular flight condition for runway landing. The invention is described in terms of a suborbital spaceship, but is applicable to craft capable of orbital flight.

SUMMARY OF THE INVENTION

A spacecraft having a fuselage supporting right and left wings having hinged aft sections with outer ends supporting rearwardly extending tail booms with vertical tails and rudders, and horizontal tails with trailing-edge elevons. An elevating system coupled between the fuselage and aft wing sections enables movement of the aft sections and tail booms between a normal-airfoil shape for space and atmospheric flight, and an elevated high-drag position for stable and controlled atmospheric reentry.

BRIEF DESCRIPTION OF THE DRAWINGS

FIG. 1 is a side view of a suborbital spacecraft as configured for landing;

FIG. 2 is a front view of the spacecraft, with the landing gear retracted;

FIG. 3 is a top view of the spacecraft;

FIG. 4 is a side view of the spacecraft as reconfigured for reentry;

FIG. 5 is a top and front perspective view of the reconfigured spacecraft;

FIG. 6 is a top rear perspective view of the reconfigured spacecraft.

FIG. 7 is a perspective view, partly broken away, of a system of the spacecraft for elevating rear-wing and tail-boom sections;

FIG. 8 is a more detailed view of the elevating system; and

FIG. 9 is a side view of a portion of the elevating system on the right aft wing section.

DETAILED DESCRIPTION OF THE INVENTION

FIGS. 1 3 show a suborbital spacecraft 10 as configured for rocket-powered flight into space, for subsonic flight after reentry, and for landing. The spacecraft is shown in FIG. 1 with a rear landing gear 11 and nose skid 12 as extended for landing, but those components are retracted in the other views.

The spacecraft has a fuselage 13 with a pilot compartment 14 at its forward end. An aft fuselage portion 15 houses and mounts a hybrid-fuel rocket engine, a rear nozzle 16 of which is shown in the drawings. A wing 17 has right and left forward sections 19 and 20 fixed to the fuselage, and aft right and left sections 21 and 22 which are coupled together, and upwardly movable about a hinge line 23. Aft sections 21 and 22 are about one-third of the total width or chord of the wing. Rigidly secured to the outer ends of the aft wing sections are rearwardly extending right and left tail booms 24 and 25.

Extending outwardly from, and rigidly secured to the outer sides of each boom are power-actuated stabilators or horizontal tails 27, each of which mount hinged elevons 28 which are independently movable by the pilot for control of the pitch-and-roll axes. Rudders 29 are movably hinged to the rear ends of vertical tails on the tail booms for yaw control. This configuration provides good stability and control in atmospheric flight, and ample lift and glide range is available with three-axis control for flare and landing.

Prior to reentry from space flight, the spacecraft is reconfigured (by actuators described below) to a high-drag shape in which the aft wing sections and tail booms are moved or tilted upwardly about hinge line 23. This high-drag position, as shown in FIGS. 4 6, is called a "feathered" configuration, and the tilt angle is large, and in the range of 65 degrees from the normally configured "unfeathered" wing.

FIGS. 7 9 illustrate an elevating system 32 for raising and lowering the aft wing sections and tail booms between the feathered and unfeathered conditions. The system includes two pneumatic actuators 33 with cylinders 34 and movable pistons 35. A lower end of each cylinder is pivotably secured to a bracket 36 which is rigidly secured to the spacecraft fuselage. Ends 37 of pistons 35 are pivotally secured to brackets 38 rigidly mounted on the inner faces 39 of the aft wing sections. The actuators are driven by a pressurized air cylinder (not shown) mounted in the spacecraft.

Pilot-controlled pressurization of actuators 33 drive the aft wing sections and tail booms upwardly and downwardly. To prevent inadvertent movement of these rear parts of the spacecraft, and to unload actuators 33 during unfeathered flight, a lock system 40 is provided. System 40 has a pair of right and left pneumatic actuators 41 with cylinders 42 having lower ends pivotally secured to brackets 36. Extending from cylinders 42 are pistons 43 with ends pivotally connected to aft-extending links 44 connected by a rigid crossbar 45. The crossbar is in turn rotatably supported by right and left brackets 46 secured to the spacecraft fuselage. Outboard of each link 44 are upwardly extending lock members 48 secured to crossbar 45, and each lock member has a forwardly extending end 49 fitted over a mating pin 50 secured at the inner trailing edge of each aft wing section when the spacecraft is in an unfeathered configuration.

To unlock the aft wing sections, actuators 41 are pressurized to withdraw pistons 43 from an extended position, thereby rotating crossbar 45 to move lock-member ends 49 rearwardly away from pins to unlocked positions. Actuation of cylinders 34 will then drive the aft wing sections to the elevated feathered position. When the wing sections are retracted after reentry, actuators 41 are again pressurized to extend pistons 43 to reengage the lock system.

During spacecraft reentry of the atmosphere in the feathered configuration, the craft will seek and maintain a shuttlecock-like stable attitude in pitch and roll at all speeds. The angle of attack of the wing is very high in this configuration, and is estimated at about 54 degrees at supersonic speeds in the range of Mach 3, and about 64 degrees at subsonic speeds. This results in the desired high aerodynamic drag, with drag exceeding lift by a factor of about two, and low structural and thermal loads. The spacecraft can also be yawed during reentry to adjust the direction of the lift vector for trajectory correction. Arrow 52 in FIG. 4 is a typical velocity vector of the spacecraft during reentry.

After reentry with the spacecraft slowed to a subsonic speed, the craft is reconfigured to an unfeathered condition with a glide ratio in the range of seven to eight. For example, if the spacecraft is unfeathered at about an 50,000-foot altitude, it can glide a horizontal distance in excess of 50 miles to a desired landing place. With three-axis control restored, the craft is easily turned, and flared for a horizontal-runway landing.
Когда жизнь экзаменует - первыми сдают нервы.

ronatu

To see full patent (and images) go http://patft.uspto.gov/netahtml/PTO/srchnum.htm
and enter 7,195,207 B2
Когда жизнь экзаменует - первыми сдают нервы.

ronatu

Benson Space Unveils New Dream Chaser Design

http://www.space.com/adastra/070524_dreamchaser.html

ЦитироватьThe firm's new suborbital design will be based on a melding of the NASA and Air Force X-2, X-15, and T-38 vehicles - rather than using an earlier design - the orbital NASA HL-20 lifting body craft. The new NASA/Air Force-derived design is "safer and better[/size]," Benson said.

Когда жизнь экзаменует - первыми сдают нервы.

ronatu

ЦитироватьIt will also allow Benson Space Company to remain on schedule to make its initial commercial spaceflights in 2009.
X-2

X-15

T-38
Когда жизнь экзаменует - первыми сдают нервы.

ronatu

Вместо

Когда жизнь экзаменует - первыми сдают нервы.

Кенгуру

ЦитироватьBenson Space Unveils New Dream Chaser Design


Что-то долго он вообще. Сколько можно картинки рисовать? Пора уж фотки показывать.
http://goo.gl/vbKbqn">Самообеспечивающаяся станция-сфера с центрифугой Будущее за независимыми от Земли станциями добывающими полезные ископаемые на астероидах http://goo.gl/KNfIuz">Материалы

RadioactiveRainbow

Цитировать
ЦитироватьBenson Space Unveils New Dream Chaser Design


Что-то долго он вообще. Сколько можно картинки рисовать? Пора уж фотки показывать.
Натюрлих.
Зарисовались, ребятки. Похоже, они сами запутались, то ли суборбитальник делают, то ли орбитальный корабль...

А как тем дела у Рутана с СС2? Картинки/фотки есть?
Глупость наказуема

ratte07

Покажите это avmich'у.
Потому что другие солдаты - совершенно другие ребята...

Старый

Ронату, а почему здесь? Это вобщето надо в ОхУмору... :(
1. Ангара - единственная в мире новая РН которая хуже старой (с) Старый Ламер
2. Назначение Роскосмоса - не летать в космос а выкачивать из бюджета деньги
3. У Маска ракета длиннее и толще чем у Роскосмоса
4. Чем мрачнее реальность тем ярче бред (с) Старый Ламер

avmich

Лучше покажите раттлу07 :) . Пусть проникнется мощью частных космофирм.

ratte07

ЦитироватьЛучше покажите раттлу07 :) . Пусть проникнется мощью частных космофирм.
Avmich, очевидно же, что я это уже видел. :roll:
Потому что другие солдаты - совершенно другие ребята...