SpaceX Falcon 9

Автор ATN, 08.09.2005 20:24:10

« назад - далее »

0 Пользователи и 7 гостей просматривают эту тему.

SFN

"двигатели ... не будут иметь вектора тяги" А без вектора какие это двигатели? ;)

Для разнотяга нужен широкий зад хвост.

Salo

Вы придумали, Вам и искать цитату с подтверждением сказанного. ;)

ЗЫ: Хотя бы потому, что разнотяг на ракете с удлинением около 19 и диаметром 3,6 м не будет обладать достаточной эффективностью.
"Были когда-то и мы рысаками!!!"

SFN

ЦитироватьДмитрий В. пишет:
ЦитироватьSFN пишет:
ЦитироватьДмитрий В. пишет:
Естественно, периферийные ЖРД качающиеся, а вместо балочных лонжеронов может быть стержневая конструкция.
А как быть с мизерными расстояниями между периферийными соплами?
Учитывать в схеме качания. Например, чтобы все двигатели участвовали в управлении по всем каналам, отклоняясь в одну сторону. Кстати, а какой там зазор?
в дюймах как так:

Дм. Журко

ЦитироватьSalo пишет:
А Вы видели?  ;)
То есть вы снова потрындеть, а Merlin не причём. Уже не удивлён.

SFN


SFN

#7465
ЦитироватьДмитрий В. пишет:
Я бы примерно так сделал:
 
Спейсексы явно переработали разводку трубопроводов и убрали "осминога"

в1.0 трубы без осминога

Старый

При такой маленькой тяге одиночного двигателя его можно упереть прямо в днище.
1. Ангара - единственная в мире новая РН которая хуже старой (с) Старый Ламер
2. Назначение Роскосмоса - не летать в космос а выкачивать из бюджета деньги
3. У Маска ракета длиннее и толще чем у Роскосмоса
4. Чем мрачнее реальность тем ярче бред (с) Старый Ламер

igorvs

ЦитироватьSalo пишет:
Вы придумали, Вам и искать цитату с подтверждением сказанного.

ЗЫ: Хотя бы потому, что разнотяг на ракете с удлинением около 19 и диаметром 3,6 м не будет обладать достаточной эффективностью.
А при плавном полете, нужна большая эффективность, чем при разнотяге?

Salo

#7468
ЦитироватьДм. Журко пишет:
ЦитироватьSalo пишет:
А Вы видели? [Шутливо]
То есть вы снова потрындеть, а Merlin не причём. Уже не удивлён.
У Вас рентгеновское зрение, позволяющее разглядеть наличие, или отсутствие бустерного насоса в баке или трубопроводе? Или у Вас имеется чертёж ТНА Мерлина? А чертёж ХО v1.0 и v1.1?
Видели ХО v1.1 в сборе? Выкладывайте на форум.

В противном случае умерьте апломб, сдуйте щёки. Или прекращайте трындеть, если это слово Вам так нравится.
"Были когда-то и мы рысаками!!!"

Salo

#7469
ЦитироватьСтарый пишет:
При такой маленькой тяге одиночного двигателя его можно упереть прямо в днище.
Силовая юбка ХО там всё-таки есть:
ЦитироватьSFN пишет:

Это как бы ХО версии 1.1
"Были когда-то и мы рысаками!!!"

fagot

ЦитироватьSalo пишет:
На 11Д58М их используют, а у него давление в КС ниже.
На 11Д58М замкнутая схема, а у ДМа подвесные баки. Мне не известны двигатели открытой схемы с вынесенными преднасосами, да и для замкнутой они не аксиома.

Дм. Журко

ЦитироватьSalo пишет:
У Вас рентгеновское зрение, позволяющее разглядеть наличие, или отсутствие бустерного насоса в баке или трубопроводе? Или у Вас имеется чертёж ТНА Мерлина? А чертёж ХО v1.0 и v1.1?
Видели ХО v1.1 в сборе? Выкладывайте на форум.

Вы видели насосы в баках? А ещё что? Подпорный насос НК-33 на валу ТНА, он служит для уменьшения опасности прорыва компонент вдоль вала, насколько осведомлён.

Но да, и чертежей у меня нет, одни схемы, и рентгеновского зрения, чтобы углядеть небывалое -- насосы в баках и на трубопроводе без привода.

ЦитироватьВ противном случае умерьте апломб, сдуйте щёки. Или прекращайте трындеть, если это слово Вам так нравится.

То есть указать на очевидную вашу глупость это щёки надуть? Колитесь источником ваших тревог о Merlin и я отстану от вас.

Salo

#7472
ЦитироватьДм. Журко пишет:
ЦитироватьSalo пишет:
У Вас рентгеновское зрение, позволяющее разглядеть наличие, или отсутствие бустерного насоса в баке или трубопроводе? Или у Вас имеется чертёж ТНА Мерлина? А чертёж ХО v1.0 и v1.1?
Видели ХО v1.1 в сборе? Выкладывайте на форум.
Вы видели насосы в баках? А ещё что?
А где они по-Вашему В ДМе и в 12КРБ стоят?
ЦитироватьДм. Журко пишет:
Подпорный насос НК-33 на валу ТНА, он служит для уменьшения опасности прорыва компонент вдоль вала, насколько осведомлён.
Неправильно осведомлены.
А в РД-171М-180 где они стоят? Даже на НК-33-1 бустерные насосы должны быть выносными.
Бустерный насос служит для снижения давления наддува в баке.
ЦитироватьДм. Журко пишет:
Но да, и чертежей у меня нет, одни схемы,
Выкладывайте схемы
ЦитироватьДм. Журко пишет:. и рентгеновского зрения, чтобы углядеть небывалое -- насосы в баках и на трубопроводе без привода.
А кто сказал, что без привода? Опять трындите?
ЦитироватьДм. Журко пишет:
ЦитироватьВ противном случае умерьте апломб, сдуйте щёки. Или прекращайте трындеть, если это слово Вам так нравится.
То есть указать на очевидную вашу глупость это щёки надуть? Колитесь источником ваших тревог о Merlin и я отстану от вас.
На какую именно глупость и где Вы указали? А главное чем ?

ЗЫ: Вы ведёте себя как типичный маскофил: малейшее замечание в адрес кумира вызывает очень нервную реакцию. По Мерлин-1D есть только рекламные цифры - типа рекордное массовое совершенство 150.
При этом гарантии, что эта цифра подтвердится нет.
Вам напомнить какой УИ Мерлина 1С Vacuum первоначально заявлялся и каким он оказался в действительности?
 Какая ПН у v1.0 на официальном сайте НАСА по контракту NLS II и какова она оказалась в реальности?
Какая ПН у v1.1 на официальном сайте НАСА по контракту NLS II и какова она теперь на сайте SpaceX?
"Были когда-то и мы рысаками!!!"

Дмитрий В.

ЦитироватьСтарый пишет:
При такой маленькой тяге одиночного двигателя его можно упереть прямо в днище.
Вряд ли. Даже вафельное полотно блока Ц Энергии не держало сосредоточенную силу свыше 170 кгс.
Lingua latina non penis canina
StarShip - аналоговнет!

Дм. Журко

ЦитироватьSalo пишет:
ЦитироватьДм. Журко пишет:
Вы видели насосы в баках? А ещё что?
А где они по-Вашему В ДМе и в 12КРБ стоят? 
Неужели в баке без привода?
ЦитироватьДм. Журко пишет:
Подпорный насос НК-33 на валу ТНА, он служит для уменьшения опасности прорыва компонент вдоль вала, насколько осведомлён.
Неправильно осведомлены.[/QUOTE]
Лучше никто не осведомил. Подпорный насос устраняет неравномерность радиального давления насоса.
ЦитироватьSalo пишет:
А в РД-171М-180 где они стоят? Даже на НК-33-1 бустерные насосы должны быть выносными.
Бустерный насос служит для снижения давления наддува в баке.

И, конечно, вы покажете схемы с насосами в баках? "Выносные", это как на деле? Пока я вас, боюсь, не понимаю. О назначении насоса у меня прежнее мнение.

ЦитироватьSalo пишет:
ЦитироватьДм. Журко пишет:
Но да, и чертежей у меня нет, одни схемы,
Выкладывайте схемы

Чтобы показать, что там никаких насосов не нарисовано? Вы и сами это знаете.

ЦитироватьSalo пишет:
ЦитироватьДм. Журко пишет:. и рентгеновского зрения, чтобы углядеть небывалое -- насосы в баках и на трубопроводе без привода.
А кто сказал, что без привода? Опять трындите?
Ну привод-то легко указать на фото. Укажете? Мне не видно без подсказки.
ЦитироватьSalo пишет:
На какую именно глупость и где Вы указали? А главное чем ?

На несколько разных. Всегда задаю довольно простые прямые вопросы. Которые часто даже не требуют от вас большой работы. Пока ответов нет, вы надуваете щёки.

ЦитироватьSalo пишет:
ЗЫ: Вы ведёте себя как типичный маскофил: малейшее замечание в адрес кумира вызывает очень нервную реакцию. По Мерлин-1D есть только рекламные цифры - типа рекордное массовое совершенство 150.

Я должен устыдиться? Это "малейшие замечания"? Что не так с рамой? Вопрос, замечу, очень простой. А без ответа -- трындёж.

Да, сознаюсь, уже привык, что по поводу советских работ трындят, мне лень перепроверять и тыкать трындящих в их говно. Цель та же, что с котятами, -- чтобы больше не гадили всюду. Хотелось бы спокойного обсуждения, а не ваших никак не обоснованных тревог, что вас все дурят.

И ещё за советские разработки пока есть кому постоять. Я выбрал другую сторону сейчас. В споре об Ангаре с удовольствием вступился бы за неё, но маловато точных сведений о ней. Там сплошной трындёж.
ЦитироватьПри этом гарантии, что эта цифра подтвердится нет.

Я вот гарантий и не жду. Мне как-то дико о гарантиях. Написали, принял к сведению, время покажет.

ЦитироватьВам напомнить какой УИ Мерлина 1С Vacuum первоначально заявлялся и каким он оказался в действительности?

Вы, вроде бы, перевираете. Импульс 342 с именно получили, но номинал теперь 336 с. Так бывает. Главное: слово "заявлялся" это ваш сознательный трындёж, так как есть правильное слово "ожидался" или даже "вами ожидался, а оказалось, что ждать надо".

ЦитироватьКакая ПН у v1.0 на официальном сайте НАСА по контракту NLS II и какова она оказалась в реальности?
Какая ПН у v1.1 на официальном сайте НАСА по контракту NLS II и какова она теперь на сайте SpaceX?

Вы все данные так проверяете или только SpaceX? Если я вам объясню ваши недоразумения, вы перестанете трындеть?

fagot

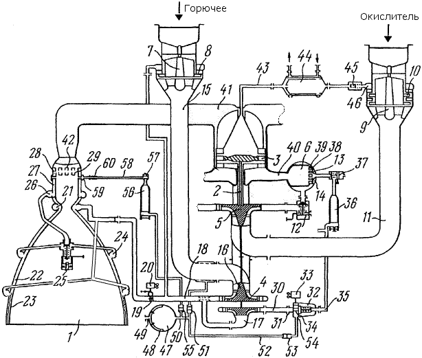
Бустерные насосы на НК-33 и других двигателях служат для обеспечения бескавитационной работы основного насоса при умеренном давлении в баках.

октоген

Что тут? Знатный тролль с Авиабазы объявился? Апломб все тот же?

Salo

Эт точно! :)
"Были когда-то и мы рысаками!!!"

Salo

#7478
ЦитироватьДм. Журко пишет:
Подпорный насос НК-33 на валу ТНА, он служит для уменьшения опасности прорыва компонент вдоль вала, насколько осведомлён.
Неправильно осведомлены.
Лучше никто не осведомил. Подпорный насос устраняет неравномерность радиального давления насоса. Где об этом можно прочесть? Ссылку? Не найдёте, публично признаёте себя трындилой!
ЦитироватьДм. Журко пишет:
ЦитироватьSalo пишет:
А в РД-171М-180 где они стоят? Даже на НК-33-1 бустерные насосы должны быть выносными.
Бустерный насос служит для снижения давления наддува в баке.

И, конечно, вы покажете схемы с насосами в баках? "Выносные", это как на деле? Пока я вас, боюсь, не понимаю. О назначении насоса у меня прежнее мнение.
Трындите попрежнему?
Вы тут что-то показали кроме трындежа?  :)  

Для трындунов, трындёжников и трындоболов:
http://www.lpre.de/energomash/RD-180/index.htm



http://www.lpre.de/energomash/RD-170/index.htm




11Д58М:


ЦитироватьДм. Журко пишет:
ЦитироватьSalo пишет:
ЦитироватьДм. Журко пишет:
Но да, и чертежей у меня нет, одни схемы,
Выкладывайте схемы

Чтобы показать, что там никаких насосов не нарисовано? Вы и сами это знаете.
Трындёж в чистом и незамутнённом виде. Трындун трындит и трындоболит!  ;)  
ЦитироватьДм. Журко пишет:
ЦитироватьSalo пишет:
ЦитироватьДм. Журко пишет:
. и рентгеновского зрения, чтобы углядеть небывалое -- насосы в баках и на трубопроводе без привода.
А кто сказал, что без привода? Опять трындите?
Ну привод-то легко указать на фото. Укажете? Мне не видно без подсказки.
Так выкладывайте фото трынддун!  ;)  
И покажите там отсутствие привода и бустерного насоса!
ЦитироватьДм. Журко пишет:
ЦитироватьSalo пишет:
На какую именно глупость и где Вы указали? А главное чем ?

На несколько разных. Всегда задаю довольно простые прямые вопросы. Которые часто даже не требуют от вас большой работы. Пока ответов нет, вы надуваете щёки.
Конкретно: пункты, схемы, фото ссылки! Опять трындёж трындуна?
ЦитироватьДм. Журко пишет:
ЦитироватьSalo пишет:
ЗЫ: Вы ведёте себя как типичный маскофил: малейшее замечание в адрес кумира вызывает очень нервную реакцию. По Мерлин-1D есть только рекламные цифры - типа рекордное массовое совершенство 150.

Я должен устыдиться? Это "малейшие замечания"? Что не так с рамой? Вопрос, замечу, очень простой. А без ответа -- трындёж.
А что с рамой так? Схема, фото! Или опять трындёж?
ЦитироватьДм. Журко пишет:
Да, сознаюсь, уже привык, что по поводу советских работ трындят, мне лень перепроверять и тыкать трындящих в их говно. Цель та же, что с котятами, -- чтобы больше не гадили всюду. Хотелось бы спокойного обсуждения, а не ваших никак не обоснованных тревог, что вас все дурят.
Поэтому вы поносите уже которую страницу подряд?
ЦитироватьДм. Журко пишет:
И ещё за советские разработки пока есть кому постоять. Я выбрал другую сторону сейчас. В споре об Ангаре с удовольствием вступился бы за неё, но маловато точных сведений о ней. Там сплошной трындёж.
Когда демагога припрут к стенке он тут же вспоминает Ангару. К Вашему сведению по Ангаре сведений на порядок больше, чем по F9.
Где Ваши точные сведения по выбранной Вами другой стороне. Сплошной трындёж?  8)  
ЦитироватьДм. Журко пишет:
ЦитироватьПри этом гарантии, что эта цифра подтвердится нет.

Я вот гарантий и не жду. Мне как-то дико о гарантиях. Написали, принял к сведению, время покажет.
Так чего ж трындите?
ЦитироватьДм. Журко пишет:
ЦитироватьВам напомнить какой УИ Мерлина 1С Vacuum первоначально заявлялся и каким он оказался в действительности?

Вы, вроде бы, перевираете. Импульс 342 с именно получили, но номинал теперь 336 с. Так бывает. Главное: слово "заявлялся" это ваш сознательный трындёж, так как есть правильное слово "ожидался" или даже "вами ожидался, а оказалось, что ждать надо".
Можно подробнее с этого места? Была цифра 342 с? или нет? Что с ней случилось впоследствии? Типа сдулась. Вот это я называю трындежём! Но Вы его осудить не можете, ибо сам трындун и тро-ло-ло.
ЦитироватьДм. Журко пишет:
ЦитироватьКакая ПН у v1.0 на официальном сайте НАСА по контракту NLS II и какова она оказалась в реальности?
Какая ПН у v1.1 на официальном сайте НАСА по контракту NLS II и какова она теперь на сайте SpaceX?

Вы все данные так проверяете или только SpaceX? Если я вам объясню ваши недоразумения, вы перестанете трындеть?
ЦитироватьОбъясните, только не трындите!  :{}  
ЦитироватьДм. Журко пишет:
ЦитироватьSalo пишет:
ЦитироватьДм. Журко пишет:
Вы видели насосы в баках? А ещё что?
А где они по-Вашему В ДМе и в 12КРБ стоят?
Неужели в баке без привода?
Ссылку где я говорил об отсутствии привода на форум. Или опять трындун трындит ради трындежа?  :D  
ЦитироватьДм. Журко пишет:
ЦитироватьSalo пишет:
ЦитироватьДм. Журко пишет:
Подпорный насос НК-33 на валу ТНА, он служит для уменьшения опасности прорыва компонент вдоль вала, насколько осведомлён.
Неправильно осведомлены.
Лучше никто не осведомил. Подпорный насос устраняет неравномерность радиального давления насоса.
Ссылку , сестра, ссылку! Ваш собственный трындёж в качестве аргумента не пройдёт!  ;)
"Были когда-то и мы рысаками!!!"

Salo

ЦитироватьДм. Журко пишет:
ЦитироватьSalo пишет:
А в РД-171М-180 где они стоят? Даже на НК-33-1 бустерные насосы должны быть выносными.
Бустерный насос служит для снижения давления наддува в баке.

И, конечно, вы покажете схемы с насосами в баках? "Выносные", это как на деле? Пока я вас, боюсь, не понимаю. О назначении насоса у меня прежнее мнение.
Кто бы срмневался. Схемы Выше я привёл
По НК-33:
http://88.210.62.157/content/numbers/240/25.shtml
Цитировать- Как отнесся к изменениям в двигателе заказчик "Авроры" - корпорация APSC (Asia Pacific Space Corporation)?
   - Попросил подтвердить заявленные характеристики на стенде и по возможности снять поставленные вопросы при прожиге одного двигателя. Их особенно интересует работа при малых давлениях на входе в турбонасосный агрегат (ТНА), фактически - кавитационный срыв. Для GenCorp Aerojet мы уже проводили испытания на разных входных давлениях, да еще и на "горячем" кислороде. Мы все это проходили, и неоднократно. У нас накоплен колоссальный опыт, и в этом вопросе нет ничего сложного. Но, на всякий случай, готовы использовать дополнительные (бустерные) преднасосы.
   - Как ваши предприятия - ОАО СНТК "Двигатели НК" и ОАО "Моторостроитель" - работают по программе НК-33-1?
   - Полным ходом идет создание конструкторской документации, в т.ч. с переносом чертежей на электронные носители (А.Иванов: "Завод уже давно не берет бумагу; говорят: "Давай дискеты, компакт-диски!"".). Совместно с ЦСКБ "Прогресс" проектируются новые узлы - трубопроводы, шарнирный подвес и бустеры. Мы хотим идти в ногу со временем. Сейчас давление на входе в НК-33 - 1.6 кг/см2, а для современных двигателей аналогичной тяги декларируется 0.5 кг/см2. У нас и так стоит встроенный бустер, но это - шестидесятые годы. Сейчас считается, что все надо по-другому делать.
ЦитироватьДм. Журко пишет:
ЦитироватьSalo пишет:
ЦитироватьДм. Журко пишет:
Но да, и чертежей у меня нет, одни схемы,
Выкладывайте схемы

Чтобы показать, что там никаких насосов не нарисовано? Вы и сами это знаете.
Трындёж? :)
ЦитироватьДм. Журко пишет:
ЦитироватьSalo пишет:
ЦитироватьДм. Журко пишет:. и рентгеновского зрения, чтобы углядеть небывалое -- насосы в баках и на трубопроводе без привода.
А кто сказал, что без привода? Опять трындите?
Ну привод-то легко указать на фото. Укажете? Мне не видно без подсказки.
Выкладывайте фото, укажу? Или опять трындёж?
ЦитироватьДм. Журко пишет:
ЦитироватьSalo пишет:
На какую именно глупость и где Вы указали? А главное чем ?

На несколько разных. Всегда задаю довольно простые прямые вопросы. Которые часто даже не требуют от вас большой работы. Пока ответов нет, вы надуваете щёки.
А Вы трындите? ;)
ЦитироватьДм. Журко пишет:
ЦитироватьSalo пишет:
ЗЫ: Вы ведёте себя как типичный маскофил: малейшее замечание в адрес кумира вызывает очень нервную реакцию. По Мерлин-1D есть только рекламные цифры - типа рекордное массовое совершенство 150.

Я должен устыдиться? Это "малейшие замечания"? Что не так с рамой? Вопрос, замечу, очень простой. А без ответа -- трындёж.
Выкладывайте схему рамы, и я Вам покажу. А без схемы трындёж! :D
"Были когда-то и мы рысаками!!!"