ТНА на пару

Автор Bell, 25.11.2010 20:12:35

« назад - далее »

0 Пользователи и 2 гостей просматривают эту тему.

Гость 22

ЦитироватьИдея-фикс такая:
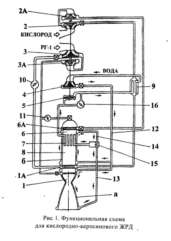
В качестве теплоносителя системы регенеративного охлаждения используется обычная вода. В рубашке она доводится до кипения и образовавшийся пар высокого давления (5-6 МПа) с температурой 450-500К подается на турбину ТНА. Поскольку теплота парообразования воды исключительно высока, то для съема тепла с рубашки охлаждения достаточно относительно небольшого объема воды. По той же причине воду можно использовать и для дополнительного завесного охлаждения КС.

А теперь ваши помидоры! :)
В принципе, можно так сделать. Но с изминениями ;)

1. Контур охлаждения сделать замкнутым
2. Воду в контуре держать при сверхкритическом давлении (>22 МПа). Водянной насос при этом не обязан быть высоконапорным: он будет только добавлять воде напор, потерянный в тракте охлаждения/конденсации.
3. Для конденсации воды использовать криогенные компоненты, подогревая их перед подачей в КС

Схема известаня, позволяет достичь высоких давлений в КС при приемлемой мощности ТНА.

Старый

ЦитироватьСтарый, а что все же за учебник в котором эта схема рассмотрена ?
Гляну на досуге когда буду в гараже. Хотя холодно уже.
1. Ангара - единственная в мире новая РН которая хуже старой (с) Старый Ламер
2. Назначение Роскосмоса - не летать в космос а выкачивать из бюджета деньги
3. У Маска ракета длиннее и толще чем у Роскосмоса
4. Чем мрачнее реальность тем ярче бред (с) Старый Ламер

Старый

ЦитироватьСхема известаня, позволяет достичь высоких давлений в КС при приемлемой мощности ТНА.
Какраз главный недостаток - схема не позволяет достичь высоких давлений. Так как мощность ТНА ограничена теплопотоком в стенки камеры сгорания.
1. Ангара - единственная в мире новая РН которая хуже старой (с) Старый Ламер
2. Назначение Роскосмоса - не летать в космос а выкачивать из бюджета деньги
3. У Маска ракета длиннее и толще чем у Роскосмоса
4. Чем мрачнее реальность тем ярче бред (с) Старый Ламер

Гость 22

Цитировать
ЦитироватьСхема известаня, позволяет достичь высоких давлений в КС при приемлемой мощности ТНА.
Какраз главный недостаток - схема не позволяет достичь высоких давлений. Так как мощность ТНА ограничена теплопотоком в стенки камеры сгорания.
Позволяет. Конечно, это будет не та совсем простая испарительная схема, применяемая сегодня, но зато она позволяет делать двигатели больших тяг (>200т) с большими давлениями (свыше 25МПа) и относительно ненапряженными ТНА.

Вот одна из возможных схем:

Выше Вы писали, что у вас потери напора только при прокачивании воды по рубашке охлаждения.  Но в приведенной вами схеме вода срабатывает и на турбине которая стоит после ТО в камере и является приводом насоса. Значит у вас потери напора будут более значительные.  

А вообще схема интересная. Не зря говорят - все гениальное просто...
А каковы потери удельного импульса из-за отбора тепла от продуктов горения в камере на подогрев воды перед ее срабатыванием на турбине ?
Cogito, ergo sum

Гость 22

Ну да, конечно, еще и перепад на турбине.

Эта схема взята из "Труды НПО Энергомаш"

ЦитироватьНу да, конечно, еще и перепад на турбине.

Эта схема взята из "Труды НПО Энергомаш"

У меня еще вопрос -  каковы потери удельного импульса из-за отбора тепла от продуктов горения в камере на подогрев воды перед ее срабатыванием на турбине ?
Cogito, ergo sum

Старый

ЦитироватьВот одна из возможных схем:
Дополнительный нагреватель воды в камере сгорания?
1. Ангара - единственная в мире новая РН которая хуже старой (с) Старый Ламер
2. Назначение Роскосмоса - не летать в космос а выкачивать из бюджета деньги
3. У Маска ракета длиннее и толще чем у Роскосмоса
4. Чем мрачнее реальность тем ярче бред (с) Старый Ламер

Старый

ЦитироватьУ меня еще вопрос -  каковы потери удельного импульса из-за отбора тепла от продуктов горения в камере на подогрев воды перед ее срабатыванием на турбине ?
Потерь нет т.к. тепло из системы не уводится, оно затем возвращается одному из компонентов топлива.
1. Ангара - единственная в мире новая РН которая хуже старой (с) Старый Ламер
2. Назначение Роскосмоса - не летать в космос а выкачивать из бюджета деньги
3. У Маска ракета длиннее и толще чем у Роскосмоса
4. Чем мрачнее реальность тем ярче бред (с) Старый Ламер

Гость 22

ЦитироватьДополнительный нагреватель воды в камере сгорания?
Нет, не в КС (1), а в газогенераторе (6) с неполным расходом (часть компонентов идет прямиком в смесительную головку КС (1А)) и далеко не стехиометрическим соотношением компонентов. В принципе - это схема с дожиганием, только газы после ГГ идут не в турбину, а сразу в КС через охлаждаемый газовод (8 ).


ЦитироватьУ меня еще вопрос -  каковы потери удельного импульса из-за отбора тепла от продуктов горения в камере на подогрев воды перед ее срабатыванием на турбине ?
Потерь нет: это ведь замкнутая схема. Энергия, отобранная у продуктов сгорания при охлаждении КС, возвращается компонентам через ТНА (повышение давления компонентов) и теплообменник 9.

Старый

ЦитироватьНет, не в КС (1), а в газогенераторе (6) с неполным расходом...
Аааа! Я сгоряча не разглядел агрегат 1а.
1. Ангара - единственная в мире новая РН которая хуже старой (с) Старый Ламер
2. Назначение Роскосмоса - не летать в космос а выкачивать из бюджета деньги
3. У Маска ракета длиннее и толще чем у Роскосмоса
4. Чем мрачнее реальность тем ярче бред (с) Старый Ламер

Старый

22, а картинка часом не из исторических материалов по созданию 11Д33?
1. Ангара - единственная в мире новая РН которая хуже старой (с) Старый Ламер
2. Назначение Роскосмоса - не летать в космос а выкачивать из бюджета деньги
3. У Маска ракета длиннее и толще чем у Роскосмоса
4. Чем мрачнее реальность тем ярче бред (с) Старый Ламер

Гость 22

Цитировать22, а картинка часом не из исторических материалов по созданию 11Д33?
Нет. Это не исторические материалы, а исследование перспектив (середина 2000-х). Производится анализ двигателей класса РД-191 и РД-120К (по тяге).

Цитировать
ЦитироватьУ меня еще вопрос -  каковы потери удельного импульса из-за отбора тепла от продуктов горения в камере на подогрев воды перед ее срабатыванием на турбине ?
Потерь нет т.к. тепло из системы не уводится, оно затем возвращается одному из компонентов топлива.

Полученное в камере водой тепло идет выработку механической работы турбиной для компенсации потерь напора в тракте охлаждения.  А топливу передается лишь остаток этого тепла  для предотвращения закипания воды в контуре охлаждения. Так, что падение энтальпии продуктов в камере равно как раз работе воды на турбине а иначе это не ЖРД а перпетум мобиле какой-то.
Cogito, ergo sum

ЦитироватьПотерь нет: это ведь замкнутая схема. Энергия, отобранная у продуктов сгорания при охлаждении КС, возвращается компонентам через ТНА (повышение давления компонентов) и теплообменник 9.

Ну у вас же не вода горит в камере.  Часть энергии отобранной в камере от продуктов идет на компенсацию потерь энергии в тракте охлаждения ими то и обусловлены потери удельного импульса.

Попробую объяснить подробнее.

Судя по вашей схеме вода крутит турбину, причем для подогрева воды используется теплообменник установленный в самой КС. Механическая работы совершается на турбине за счет подогрева воды и необходима для компенсации диссипации механической энергии в рубашке охлаждения которая выражается в падении напора.  Энергетические затраты на компенсацию этих потерь и есть тепло необратимо отводимое от камеры.
Так что потери удельного  импульса в такой схеме пусть и не очень большие неизбежны.
Cogito, ergo sum

Гость 22

ЦитироватьНу у вас же не вода горит в камере.  Часть энергии отобранной в камере от продуктов идет на компенсацию потерь энергии в тракте охлаждения ими то и обусловлены потери удельного импульса.
Неважно, что вода не горит: все связанные с ней потери так или иначе возвращаются компонентам. Например, большая часть механических потерь (в рубашке охлаждения, турбине и насосах) в виде тепла возвращается той же воде или непосредственно компонентам. Безвозвратно только то, что каким-то образом утекло во внешнюю по отношению к двигателю среду: теплоотдача через внешние стенки камеры и трубопроводов, дренаж и т.д. Плюс тепло, аккумулированное узлами самого двигателя.

ЦитироватьТак что потери удельного  импульса в такой схеме пусть и не очень большие неизбежны.
Разумеется, потери есть. Но они примерно того же порядка, как в двигателе традиционной замкнутой или испарительной схемы. Там же тоже есть потери, но в первом приближении они пренебрежимо малы, и мы говорим, что их нет. Тоже самое и здесь.

Цитироватьиначе это не ЖРД а перпетум мобиле какой-то
Ну какой же это "перпетум мобиле"? На всё это тратится химическая энергия топлива. Отсутствие (в первом приближении :)) потерь говорит только о высокой эффективности этой растраты.

Цитировать
ЦитироватьНу у вас же не вода горит в камере.  Часть энергии отобранной в камере от продуктов идет на компенсацию потерь энергии в тракте охлаждения ими то и обусловлены потери удельного импульса.
Неважно, что вода не горит: все связанные с ней потери так или иначе возвращаются компонентам. Например, большая часть механических потерь (в рубашке охлаждения, турбине и насосах) в виде тепла возвращается той же воде или непосредственно компонентам. Безвозвратно только то, что каким-то образом утекло во внешнюю по отношению к двигателю среду: теплоотдача через внешние стенки камеры и трубопроводов, дренаж и т.д. Плюс тепло, аккумулированное узлами самого двигателя.

Ну наконец-то мы пришли к обшему знаменателю. Конечно часть потерь в виде так называемого  "возвращенного тепла" поступает в воду же. Но только часть. Другая же как вы справедливо заметили аккумулируется узлами двигателя.
 

Цитировать
ЦитироватьТак что потери удельного  импульса в такой схеме пусть и не очень большие неизбежны.
Разумеется, потери есть. Но они примерно того же порядка, как в двигателе традиционной замкнутой или испарительной схемы. Там же тоже есть потери, но в первом приближении они пренебрежимо малы, и мы говорим, что их нет. Тоже самое и здесь.


Ну насколько они малы может дать только расчет ПГС двигателя, важно что они есть.

ЗЫ В любом случае приятно поговорить с компетентным человеком.
 :wink:

 А вы часом не сами разрабатывали эту схему ?
Cogito, ergo sum

Старый

ЦитироватьПолученное в камере водой тепло идет выработку механической работы турбиной для компенсации потерь напора в тракте охлаждения.  А топливу передается лишь остаток этого тепла  для предотвращения закипания воды в контуре охлаждения. Так, что падение энтальпии продуктов в камере равно как раз работе воды на турбине а иначе это не ЖРД а перпетум мобиле какой-то.
Вы понимаете что энергия из системы не выводится, вся возвращается топливу и с ним возвращается в камеру сгорания?
1. Ангара - единственная в мире новая РН которая хуже старой (с) Старый Ламер
2. Назначение Роскосмоса - не летать в космос а выкачивать из бюджета деньги
3. У Маска ракета длиннее и толще чем у Роскосмоса
4. Чем мрачнее реальность тем ярче бред (с) Старый Ламер

Старый

ЦитироватьНу наконец-то мы пришли к обшему знаменателю. Конечно часть потерь в виде так называемого  "возвращенного тепла" поступает в воду же. Но только часть. Другая же как вы справедливо заметили аккумулируется узлами двигателя.
То что двигатель при работе нагревается не связано с водой. Вы поняли что энергия отобраная от газов на нагрев воды возвращается в систему?
 

ЦитироватьНу насколько они малы может дать только расчет ПГС двигателя, важно что они есть.

Вы начали с того что охлаждая газ вода будет уменьшать УИ. Теперь поняли что это не так?
 В обычном двигателе компонент охлаждает камеру сгорания отнимая тепло у газов, а турбина отбирает энргию у генераторнго газа. Надеюсь вы не считаете что это снижает УИ?
1. Ангара - единственная в мире новая РН которая хуже старой (с) Старый Ламер
2. Назначение Роскосмоса - не летать в космос а выкачивать из бюджета деньги
3. У Маска ракета длиннее и толще чем у Роскосмоса
4. Чем мрачнее реальность тем ярче бред (с) Старый Ламер

Bell

Гость 22, подскажите, какой тепловой поток на стенку, например, в основной камере РД-107/108? Чтоб приблизитльно представлять располагаемую мощность.
Иногда мне кажется что мы черти, которые штурмуют небеса (с) фон Браун
А гвоздички-то были круглые (с) Брестская крепость