Продукт ГРЦ Макеева: Ракета-носитель «Россиянка»

Автор Kurus, 18.08.2007 05:11:15

« назад - далее »

0 Пользователи и 1 гость просматривают эту тему.

George

ЦитироватьSalo пишет:
На Союзе-5 кроме замены Союза-2 будут отрабатываться мощные метановые двигатели, которые будут использоваться на супертяже. Чем не новизна. Или Вы предлагаете киснуть на 37,5 т до конца столетия?
Проще и быстрее и дешевле создать РН на РД-175. Кстати, именно на нее нет средств и теперь ее пытаются заменить на аж четырехпуск "А5в". Какой метан который будет куда дороже сверхтяжелой РН на РД-175?

Вопрос стоит в создании частично многоразовых РН, а С-5 там рядом не стояла. "Россиянка" это другое дело. И это действительно прогресс.

sychbird

#181
ЦитироватьTDMS пишет:
Что получаем на практике? Что каждое изделие из этой линейки проигрывает конкурентную борьбу в первую очередь по причине... экономической. Т.е. исходная цель не достигнута.
Да нет пока никаких оснований для подобных выводов кроме шороху на пустом месте, поднимаемого некоторыми зело активными.  :)    Та же история, что и с Суперджет 100. Еще рано делать выводы. Проект в процессе развития. 
Кстати,  заунывная песня хора  по поводу Суперджет с тем же регентом два года назад здесь тоже зело как громко звучала. Теперь что-то прежнего энтузиазма поубавилось. Везде есть своя Баба-яга. Дело житейское.  ;)  

Все будет зависеть от множества факторов, большая часть из которых лежит в административной и регионально-админисстративной области. И все это ни на каком кластере не смоделировать.
Ответил со свойственной ему свирепостью (хотя и не преступая ни на дюйм границ учтивости). (C)  :)

Большой


Из годового отчёта КБХА. Возможно это для Россиянки.
Я верю тому кто ищет истину, и не верю тому, который говорит, что нашёл её...

Leonar

ЦитироватьLeonar пишет:
ЦитироватьTDMS пишет:
Точнее его главная идея - первая возвращаемая ступень должна быть многоблочной.
я тут подумал про компоновку Протона... может как нить так первую ступень и сделать?
на центральном баке маршевые двигатели, на боковых маршевовозвратные или наоборот?
как нить так

Salo

#184
Газета Конструктор №8 за 2016 год:
http://www.makeyev.ru/netcat_files/7/17/h_12dca3ca41152553cd2e3ed2bc1876d3
Цитировать«Россиянка», КОРОНА , «Феникс» — достойная компания

Областная и центральная пресса постоянно проявляют большой интерес к деятельности нашего предприятия. В частности, недавно к генеральному директору, генеральному конструктору ГРЦ В. Г. Д егтярю с просьбой ответить на ряд вопросов обратился руководитель редакции военной информации ТАСС Д. Г. Решетников. Его интересовало, состоится ли в 2016 году, как это планировалось, испытание демонстратора ракеты-носителя «Россиянка», каково состояние дел по тематике ракеты КОРОНА и к каким работам в области ракетно-космической техники привлечены в настоящее время специалисты АО «ГРЦ Макеева»?
Вот как ответил на эти вопросы В. Г. Дегтярь:

— В 2016 году работы по ракете-носителю (РН)«Россиянка» не проводились. В 2018 году ФГУП ЦНИИмаш, по ТЗ Государственной корпорации по космической деятельности «Роскосмос» в рамках СЧ НИР «Авангард» («Флагман»), планирует проведение проектно-поисковых исследований по космическим ракетным комплексам с РН с многоразовыми первыми ступенями различных схем, включая вертикальную посадку. АО «ГРЦ Макеева» является одним из соисполнителей в данной работе, и мы надеемся продолжить исследования в этом направлении. Результатом выполнения этих работ будет разработка технических предложений и проект концепции развития российской системы средств выведения до 2035 года.
В 2017 году в рамках этой же СЧ НИР планируются проектно-поисковые исследования по новым конструкторско-технологическим решениям и ключевым технологиям для космических комплексов с РН лёгкого класса, где АО «ГРЦ Макеева» также один из соисполнителей.
Что касается многоразовой одноступенчатой РН КОРОНА, то в 2015 году АО «ГРЦ Макеева» проводило в инициативном порядке проектно-конструкторские работы по облику перспективного космического комплекса с многоразовой одноступенчатой ракетой КОРОНА.
В РН КОРОНА максимально использованы прорывные технологии отраслей приборостроения, двигателестроения и материаловедения. В РН применены ракетный маршевый двигатель с центральным телом на компонентах топлива «водород+кислород», высокоэффективные композитные материалы, новые термостойкие покрытия, система управления с минимизированными массогабаритными характеристиками.
На разработанные материалы по проекту КОРОНА получено положительное заключение ФГУП ЦНИИмаш и оформлена заявка в Фонд перспективных исследований (ФПИ) на реализацию проекта. Проект ФПИ одобрен, отмечено, что он отвечает тематике и требованиям Фонда. Вместе с тем, с целью повышения конкурентоспособности, в том числе на международном рынке космических услуг, ФПИ рекомендовано рассмотреть возможность разработки и создания демонстратора двухступенчатой ракеты-носителя лёгкого класса с многоразовой первой ступенью. Это коррелируется с работами ФГУП ЦНИИмаш, которые планируются к выполнению в 2017 году.
Также, в настоящее время, в целях объединения и эффективного использования научно-технического и производственного потенциала ведущих предприятий Госкорпорации «Роскосмос» ПАО «РКК «Энергия» и АО «ГРЦ Макеева», ведутся предпроектные работы по созданию ракеты-носителя среднего класса, адаптированной к различным ракетным комплексам. Эта работа будет иметь продолжение в рамках ОКР «Феникс».
"Были когда-то и мы рысаками!!!"

Alex_II

ЦитироватьВ РН КОРОНА максимально использованы прорывные технологии отраслей приборостроения, двигателестроения и материаловедения. В РН применены ракетный маршевый двигатель с центральным телом на компонентах топлива «водород+кислород», высокоэффективные композитные материалы, новые термостойкие покрытия, система управления с минимизированными массогабаритными характеристиками.
Наш ответ Безосу? Это ж та самая Дельта - Клиппер выходит...
И мы пошли за так, на четвертак, за ради бога
В обход и напролом и просто пылью по лучу...


Salo

#187
Цитировать
ЦитироватьAlex_II пишет:
 Наш ответ Безосу? Это ж та самая Дельта - Клиппер выходит...
Apollo13 пишет:
Венчур стар!  :)  
https://ru.wikipedia.org/wiki/КОРОНА_(ракета-носитель)
"Были когда-то и мы рысаками!!!"

Дмитрий В.

Упорные ребята - почти четверть века тему топчут. Наверное, те молодые специалисты, что "Корону" начинали - уже убеленные сединами ветераны. Аккурат, до пенсии работы хватит.
Lingua latina non penis canina
StarShip - аналоговнет!

Сергей

ЦитироватьSalo пишет:
В РН применены ракетный маршевый двигатель с центральным телом на компонентах топлива «водород+кислород»,
Движок такой схемы с теми же компонентами с пустотной тягой 190 т разработан и испытан КБХА.

Apollo13

Это у меня рефлекс сработал - аэроспайк + водород + композитные баки = венчур стар! :)

Alex_II

ЦитироватьApollo13 пишет:
Это у меня рефлекс сработал - аэроспайк + водород + композитные баки = венчур стар!  :)
Не, всё же Дельта Клиппер, вариант DC-Y Правда там 9 тонн ПН...
И мы пошли за так, на четвертак, за ради бога
В обход и напролом и просто пылью по лучу...

Salo

ЦитироватьСергей пишет:
ЦитироватьSalo пишет:
В РН применены ракетный маршевый двигатель с центральным телом на компонентах топлива «водород+кислород»,
Движок такой схемы с теми же компонентами с пустотной тягой 190 т разработан и испытан КБХА.
Когда был испытан движок с центральным телом тягой 190 тс?
"Были когда-то и мы рысаками!!!"

Магадан Магадан

ЦитироватьДмитрий В. пишет:
Упорные ребята - почти четверть века тему топчут. Наверное, те молодые специалисты, что "Корону" начинали - уже убеленные сединами ветераны. Аккурат, до пенсии работы хватит.
Упорство достойно уважения. К.П. Феоктистов потратил примерно столько же времени на свою Сивку ("Пузырь"). И минимальный вариант у К.П. имел стартовую массу 250 тонн.

Nilk

ИМХО эту "Корону" нужно использовать в качестве второй ступени, а в качестве первой, что-то а-ля первой ступени "Фалькона". Получаем полностью многоразовую систему и не насилуем формулу Циолковского.

Юрий Темников

ЦитироватьNilk пишет:
ИМХО эту "Корону" нужно использовать в качестве второй ступени, а в качестве первой, что-то а-ля первой ступени "Фалькона". Получаем полностью многоразовую систему и не насилуем формулу Циолковского.
Прааавильно!Очень вкусная ракета получится!
Вначале было СЛОВО!И Такое......что все галактики покраснели и разбежались.

Garixon

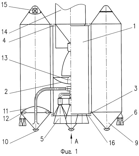
Ракета космического назначения тандемной схемы с многоразовой первой ступенью
ЦитироватьИзобретение относится к ракетно-космической технике и может использоваться при создании ракетных комплексов, не требующих отчуждения земель под зоны падения отработавших первых ступеней. Предлагаемая ракета включает в себя маршевые и рулевые двигатели, топливные баки, межступенчатый отсек с торцевыми шпангоутами. Топливные баки окислителя и горючего первой ступени выполнены в виде четырех емкостей, установленных попарно диаметрально противоположно для каждого компонента по периферии межступенчатого отсека и закрепленных на его торцевых шпангоутах. Межступенчатый отсек разделен днищем-перегородкой на две полости, при этом в нижней полости на торцевом шпангоуте установлены маршевые двигатели первой ступени, а в верхней части размещены двигатели второй ступени. На днище-перегородке смонтирован газогенератор для расталкивания ступеней. Днища топливных баков первой ступени могут быть выполнены в виде конусов, в вершинах которых смонтированы опоры для старта ракеты и приземления ступени. Рулевые двигатели первой ступени преимущественно смонтированы на топливных баках на максимальном удалении от продольной оси ракеты. В нижней части топливных баков установлены топливные перегородки с отсечными клапанами. Там размещается топливо, используемое для возвращения и посадки первой ступени. Для тепловой защиты хвостовой части ракеты от струй двигателей при старте ракеты и от аэродинамического нагрева на участке спуска используется штатный тепловой экран. Техническим результатом изобретения является обеспечение многократного возвращения и посадки первой ступени на космодром за счет тяги штатных, маршевых и рулевых, двигателей этой ступени. 3 з.п. ф-лы, 2 ил.

Изобретение относится к ракетно-космической технике и может использоваться при создании многоразовых ракетных комплексов, не требующих отчуждения земель под зоны падения отработавших первых ступеней и обеспечивающих надежное и экономически выгодное выведение полезных нагрузок на околоземные орбиты.
Известна конструкция ракеты с многоразовой первой ступенью, в которой многоразовая первая ступень выполнена по самолетной схеме с наличием аэродинамических органов управления, шасси и посадкой с большой горизонтальной скоростью (Новости космонавтики, №10, 2004 г., стр.39-40).
Недостатком указанной конструкции является наличие сложных и дорогостоящих в отработке устройств самолетного типа для осуществления возвращения в район старта и посадки первой ступени.
Известно также устройство для спасения ракет-носителей, содержащее скрепленные между собой корпус отсека полезной нагрузки и корпуса ракет-носителей, нижние части которых кинематически связаны шарниром, фиксаторы, выполненные в виде упругих пластин с клиновидным захватом, пирозамки, подпятники, проушины, используемые для трансформирования ракет-носителей из пакетной связки в осесимметричную связку путем соединения днищ друг с другом, а по достижении заданной высоты отвесного падения ракеты-носители из осесимметричной связки снова трансформируют в пакетную, ориентируя сопла их маршевых двигателей к Земле (патент RU 2202500 с приоритетом от 21.02.2001).
К недостаткам указанной конструкции можно отнести следующее:


- наличие в конструкции сложных механизмов трансформирования ступени, что существенно увеличивает вес конструкции;
- необходимость тепловой защиты боковой поверхности баков от аэродинамического нагрева при торможении в трансформированном положении;
- приземление осуществляется вдали от места старта, что требует отчуждения земель и транспортных средств для доставки ступени на космодром.
Несмотря на указанные недостатки устройство по патенту RU 2202500 может быть принято в качестве прототипа.
Задачей, на решение которой направлено предлагаемое изобретение, является устранение приведенных выше недостатков и создание конструкции ракеты, обеспечивающей многоразовое использование первой ступени, позволяющей осуществлять многократные возвращения и посадки ее на космодром за счет тяги штатных двигателей первой ступени.
Этот технический результат согласно предлагаемому изобретению достигается тем, что в ракете космического назначения тандемной схемы с многоразовой первой ступенью цилиндрический межступенчатый отсек разделен днищем-перегородкой на две полости. В нижней полости межступенчатого отсека установлены и закреплены на нижнем торцевом шпангоуте маршевые двигатели первой ступени, а в верхней полости размещены двигатели второй ступени и устройства расталкивания ступеней энергией газов при разделении. Баки окислителя и горючего первой ступени выполнены в виде четырех емкостей, которые установлены диаметрально противоположно для каждого компонента по периферии межступенчатого отсека и закреплены на его торцевых шпангоутах. Нижние днища баков выполнены в виде конусов, в вершинах которых смонтированы опоры для старта и посадки отработавшей первой ступени.
В нижних полостях баков, отделенных перегородкой с клапанами, размещается топливо, которое используется для возвращения и посадки многоразовой первой ступени. Рулевые двигатели смонтированы на топливных баках на максимальном удалении от продольной оси ракеты, что позволяет создавать эффективные управляющие усилия.
Для тепловой защиты элементов конструкции хвостовой части ракеты от аэродинамического нагрева в процессе торможения на участке спуска используется штатный тепловой экран, устанавливаемый для тепловой защиты от струй работающих двигателей при старте и на активном участке траектории первой ступени.
Сущность изобретения поясняется чертежами, где на фиг.1 показан общий вид ракеты тандемной схемы с многоразовой первой ступенью. На фиг.2 показан вид А на фиг.1.
Ракета включает многоразовую первую ступень, содержащую цилиндрический межступенчатый отсек 1, разделенный днищем-перегородкой 2 на две полости: верхнюю и нижнюю. Межступенчатый отсек 1 снабжен нижним и верхним торцевыми шпангоутами 3 и 4 соответственно. К нижнему торцевому шпангоуту 3 прикреплены маршевые двигатели 5, размещенные в нижней полости отсека 1, а рулевые двигатели 6 установлены на баках окислителя 7 и горючего 8 на максимальном расстоянии от продольной оси ракеты. Баки окислителя 7 и горючего 8 выполнены в виде четырех емкостей, которые установлены попарно диаметрально противоположно (см. фиг.2) для каждого компонента по периферии межступенчатого отсека 1 и прикреплены к его торцевым шпангоутам 3 и 4. Нижние днища баков 7 и 8 выполнены в виде силовых конусов 9, в вершинах которых смонтированы опоры 10, используемые для старта ракеты и приземления отработавшей многоразовой первой ступени.
В нижней части каждого бака установлены топливные перегородки 11 с клапанами 12, необходимые для отделения объема топлива, используемого для возвращения многоразовой ступени на космодром и ее приземления. Такое конструктивное решение позволяет обеспечивать забор топлива при повторном включении двигателей после разделения ступеней с отрицательными перегрузками и позволяет повысить давление не во всем объеме бака, а только в ограниченном объеме бака. Увеличение давления связано с повышением температуры последних порций компонента.
В верхней полости межступенчатого отсека 1 на днище-перегородке 2 установлен газогенератор 13 системы расталкивания ступеней при их разделении. Вторая ступень 14 ракеты тандемно установлена и закреплена на верхнем торцевом шпангоуте 4. В верхней части топливных баков выполнены отсеки для размещения аппаратуры системы управления 15 многоразовой первой ступени. В хвостовой части первой ступени установлен тепловой экран 16, защищающий элементы конструкции ракеты от воздействия тепловых нагрузок от работающих маршевых двигателей первой ступени при старте ракеты, ее полете на активном участке траектории, на участке спуска при аэродинамическом торможении ступени и при активном торможении и приземлении ступени на рулевых двигателях.
Работа ракеты.
Заправленная ракета устанавливается на опоры 10. После запуска маршевых и рулевых двигателей 5 и 6 соответственно ракета ложится на заданный курс, при этом компоненты топлива расходуются из верхних частей топливных баков через открытые клапаны 12. Перед физическим разделением ступеней за счет работы газогенератора 13 закрываются клапаны 12 и, когда ступени разойдутся на безопасное для включения второй ступени расстояние, производится повторное включение двигателей 5 и 6. Забор компонентов топлива производится из нижних объемов топливных баков 7 и 8. За счет тяги рулевых и маршевых двигателей осуществляют разворот первой ступени в плоскости тангажа в направлении возвращения на космодром, производят набор скорости до значения, необходимого для возвращения ступени на космодром по баллистической траектории. При достижении заданной скорости двигатели первой ступени выключают, после чего первая ступень совершает полет по баллистической траектории.
На атмосферном участке траектории происходит аэродинамическое торможение ступени стабилизированной хвостовой частью вниз, при этом тепловые нагрузки воспринимаются штатным тепловым экраном 16. На расчетной высоте от земли, определяемой скоростью парашютирования ступени, вновь включаются рулевые двигатели 6. За счет тяги рулевых двигателей производится активное торможение ступени, устраняются погрешности наведения, ступень приводится к месту посадки, гасится вертикальная скорость до величины, близкой к нулю, и осуществляется приземление ступени на опоры 10 в заданном районе космодрома. После профилактических и регламентных работ первая ступень готова к повторному использованию для вывода другой полезной нагрузки в околоземное пространство.
Предлагаемая конструкция ракеты, в которой межступенчатый отсек является составной частью первой ступени, позволяет после вывода полезной нагрузки в космос осуществлять приземление первой ступени в точке старта ракеты за счет многократного включения штатных маршевых и рулевых двигателей и использования незначительной части имеющихся в баках компонентов топлива, что исключает применение в конструкции ракеты дополнительных органов и устройств, необходимых для возврата первой ступени и приземления ее на космодроме.
1. Ракета космического назначения тандемной схемы с многоразовой первой ступенью, включающая маршевые и рулевые двигатели, топливные баки, межступенчатый отсек с торцевыми шпангоутами, опоры для старта и приземления, отличающаяся тем, что в ней топливные баки окислителя и горючего первой ступени выполнены в виде четырех емкостей, установленных попарно диаметрально противоположно для каждого компонента по периферии межступенчатого отсека и закрепленных на его торцевых шпангоутах, а межступенчатый отсек разделен днищем-перегородкой на две полости, при этом в нижней полости на торцевом шпангоуте установлены маршевые двигатели первой ступени, а в верхней части размещены двигатели второй ступени и смонтированный на днище-перегородке газогенератор для расталкивания ступеней.
2. Ракета по п.1, отличающаяся тем, что нижние днища топливных баков первой ступени выполнены в виде конусов, в вершинах которых смонтированы опоры для старта ракеты и приземления ступени.
3. Ракета по п.1, отличающаяся тем, что рулевые двигатели первой ступени смонтированы на топливных баках на максимальном удалении от продольной оси ракеты.
4. Ракета по п.1, отличающаяся тем, что в нижней части топливных баков установлены топливные перегородки с отсечными клапанами.




Юрий Темников

ЦитироватьGarixon пишет:
Ракета космического назначения тандемной схемы с многоразовой первой ступенью
При многократном включении ДУ с условием отрицательных и нулевых ускорений гораздо надежнее запасной обьем топлива ограничить сильфоном или гибкой мембраной. Наддув баков то сохраняется.                                                                                   Сейчас миниПротоны собираются строить.Могу предложить МегаПротон по похожей схеме ,если не заморачиваться многоразовостью.Нужно разделить ЦБ на Два отсека,добавть туда ДУ и значительно увеличить размер боковых баков .3 амил,3 гептил.Новая жизнь для старичка.
Вначале было СЛОВО!И Такое......что все галактики покраснели и разбежались.

Salo

ЦитироватьЮрий Темников пишет:
При многократном включении ДУ с условием отрицательных и нулевых ускорений гораздо надежнее запасной обьем топлива ограничить сильфоном или гибкой мембраной.
Подскажите это Маску!
ЗЫ: " Скажите государю, что у англичан ружья кирпичом не чистят: пусть чтобы и у нас не чистили, а то, храни Бог войны, они стрелять не годятся." (с) "Левша"
"Были когда-то и мы рысаками!!!"

Юрий Темников

ЦитироватьSalo пишет:
Подскажите это Маску!
ЗЫ: " Скажите государю, что у англичан ружья кирпичом не чистят: пусть чтобы и у нас не чистили, а то, храни Бог войны, они стрелять не годятся." (с) "Левша
Баба-яга против,или есть что сказать г-ну инженеру?
Вначале было СЛОВО!И Такое......что все галактики покраснели и разбежались.