Тяжёлый носитель + ЯРД vs. супертяж

Автор pkl, 21.09.2013 21:24:50

« назад - далее »

0 Пользователи и 1 гость просматривают эту тему.

Дем

Цитироватьmark2000 пишет:
Зависимость массы ЯРД от тяги, в первом приближении, линейная. Это понятно - энергия снимается с массы путем нагрева а энергоотдача килограмма массы зависит от температуры и скорости потока. РД- 410 в этом плане "вылизан" практически до предела - температура твелов достигает 3 600 градусов, давление 300 атмосфер, Не думаю, что эти показатели можно существенно увеличить,
Снимаемая энергия пропорциональна площади теплообмена, сильно сомневаюсь чтобы там все резервы были исчерпаны...
Летать в космос необходимо. Жить - не необходимо.

Дмитрий Инфан

Снимаемую энергию можно  увеличить, если изменить конструкцию активной зоны. ТВЭЛы вместо  стержней должны быть изготовлены в виде шариков, которые, находясь в потоке рабочего тела, образуют кипящий слой. По сравнению в РД-410, у которого активная зона состояла из стержней, массу можно уменьшить

Дем

Шарики - лучше стержней, но не сильно. Нужно вообще что-то вроде такого делать.
Летать в космос необходимо. Жить - не необходимо.

pkl

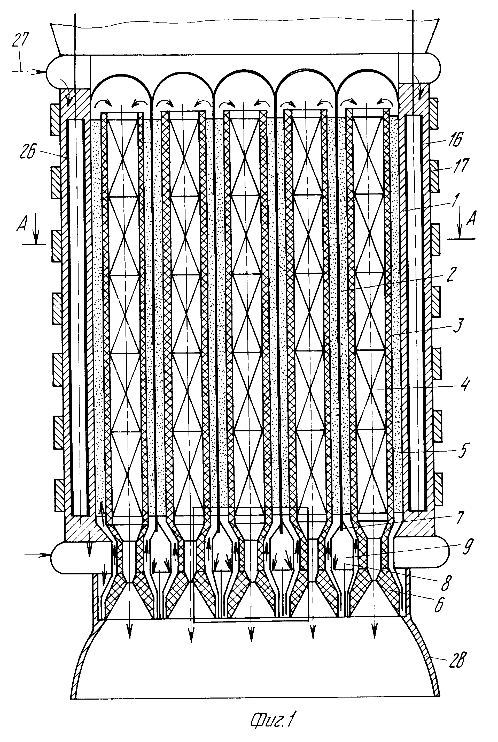
Итак, главная проблема: увеличить по максимуму поверхность теплообмена.


Есть старая довольно идея ЯРД с кипящим слоем, что-то вроде этого:
Вообще, исследовать солнечную систему автоматами - это примерно то же самое, что посылать робота вместо себя в фитнес, качаться.Зомби. Просто Зомби (с)
Многоразовость - это бяка (с) Дмитрий Инфан

Дмитрий Инфан

ЦитироватьДем пишет:
Шарики - лучше стержней, но не сильно. Нужно вообще что-то вроде такого делать.


Или так:

Mark

ЯРД, интересное видео из 12.12.2009

Земля - это колыбель разума, но нельзя вечно жить в колыбели. Ц.К.Э

 

mark2000

Цитироватьpkl пишет:
Итак, главная проблема: увеличить по максимуму поверхность теплообмена.
 
На самом деле все не так просто.
Чем более сложный путь проходит рабочее тело, тем большее сопротивление испытывает. Следовательно, что бы не потерять в расходе и тяге, придется повышать давление. А оно и так 300 атмосфер.

Для мощных двигателей возможно наоборот придется снижать сопротивление потоку чтобы увеличить расход (с некоторой потерей скорости истечения, разумеется).

mark2000


Нашел интересный рисунок. "Восток" с ЯРД на второй ступени. ЯРД, правда на аммиаке.


Для разминки:Ядрена легкогазовая пушка на Земле в качестве первой ступени.Тот же ТФЯРД но без ограничения веса и тяги ,никуда не не летает,со всеми возможными прибамбасами по безопасности и многоразовый.

октоген

Шарики будут сильно хуже. Ибо в свободном "кипящем" слое они бьются друг о друга. И степень уноса материала шаровых ТВЭЛов будет больше. Стержни закрепленные в матрице не касаются друг друга и там эррозия только газодинамическая.

Дмитрий Инфан

Цитироватьоктоген пишет:
Шарики будут сильно хуже. Ибо в свободном "кипящем" слое они бьются друг о друга. И степень уноса материала шаровых ТВЭЛов будет больше. Стержни закрепленные в матрице не касаются друг друга и там эррозия только газодинамическая.
Эту проблему можно решить, подобрав правильное покрытие. Нужно, чтобы оно продержалось минут пять - потом ракета выйдет за пределы атмосферы и эрозия уже не страшна.

pkl

Цитироватьmark2000 пишет:
Цитироватьpkl пишет:
Итак, главная проблема: увеличить по максимуму поверхность теплообмена.
 
На самом деле все не так просто.
Чем более сложный путь проходит рабочее тело, тем большее сопротивление испытывает. Следовательно, что бы не потерять в расходе и тяге, придется повышать давление. А оно и так 300 атмосфер.

Для мощных двигателей возможно наоборот придется снижать сопротивление потоку чтобы увеличить расход (с некоторой потерей скорости истечения, разумеется).
А возможно регулировать эти параметры? Допустим, стартуем с Земли с повышенным расходом и умеренной скоростью истечения /как у ЖРД/, а потом потихоньку уменьшаем расход и повышаем скорость истечения, по мере разгона.
Вообще, исследовать солнечную систему автоматами - это примерно то же самое, что посылать робота вместо себя в фитнес, качаться.Зомби. Просто Зомби (с)
Многоразовость - это бяка (с) Дмитрий Инфан

Mark

Цитироватьpkl пишет:
Вот можно сделать ЯРД, относительно маленький и мощный.
Из доклада НАСА, Glenn Research Center, 2012.
 
1- ЯРД каторые будут сосдане, будут сделане на Pewee технологи третей фазы проекта Rover. Это был небольшой, легко проверить и малые габариты для непилотируемых научных межпланетных миссий или для малых ядерных буксиров. Он использовал топлива из циркония карбид вместо карбид ниобия и позволило более высокую плотность энергии в реакторе получить.
 
3- Первый технологичны полет small NTR в 2023г.
 
4- В 2028г. полет (360 суток) с ЯРД на Апофис астероид. Тяга двигателя 12 тонн, УИ на 906с, времия работы на 76,2 минут. Масса корабля на 323 тонн и 6 астронавтов.
Земля - это колыбель разума, но нельзя вечно жить в колыбели. Ц.К.Э

 

vlad7308

Цитироватьоктоген пишет:
Шарики будут сильно хуже. Ибо в свободном "кипящем" слое они бьются друг о друга. И степень уноса материала шаровых ТВЭЛов будет больше. Стержни закрепленные в матрице не касаются друг друга и там эррозия только газодинамическая.
я вот еще вспомнил, с этим particle bed, одна из основных проблем - локальные перегревы ТВЭЛов, с образованием "горячих точек" вплоть до расплавления.
кажется, в местах соприкосновения шариков

в общем, это только на форуме у дилетантов на словах все просто  ;)
это оценочное суждение

vlad7308

#155
ЦитироватьДмитрий Инфан пишет:
Цитироватьоктоген пишет:
Шарики будут сильно хуже. Ибо в свободном "кипящем" слое они бьются друг о друга. И степень уноса материала шаровых ТВЭЛов будет больше. Стержни закрепленные в матрице не касаются друг друга и там эррозия только газодинамическая.
Эту проблему можно решить, подобрав правильное покрытие. Нужно, чтобы оно продержалось минут пять - потом ракета выйдет за пределы атмосферы и эрозия уже не страшна.
нет уж, так нельзя
если из АЗ полетело активное говно, то это во-первых опасно (потеря геометрии и разрушение ТВЭЛов может привести к взрыву АЗ), а во-вторых, какая разница - атмосфера или не атмосфера, это говно все равно полетит обратно на Землю, если у него скорость меньше первой космической или вектор в сторону Земли

ТВЭЛы должны нормально выдерживать весь нормативный срок эксплуатации.
без эрозии, разрушения, и с минимальным (нормативным) нейтронным распуханием.
собственно это и есть основная задача, всегда стоявшая перед разработчиками любого вида ТфЯРД
это оценочное суждение

pkl

ЦитироватьЮрий Темников пишет:
Для разминки:Ядрена легкогазовая пушка на Земле в качестве первой ступени.Тот же ТФЯРД но без ограничения веса и тяги ,никуда не не летает,со всеми возможными прибамбасами по безопасности и многоразовый.
Вам не надоело?
Вообще, исследовать солнечную систему автоматами - это примерно то же самое, что посылать робота вместо себя в фитнес, качаться.Зомби. Просто Зомби (с)
Многоразовость - это бяка (с) Дмитрий Инфан

Дмитрий Инфан

#157
Цитироватьvlad7308 пишет:
какая разница - атмосфера или не атмосфера, это говно все равно полетит обратно на Землю, если у него скорость меньше первой космической или вектор в сторону Земли

ТВЭЛы должны нормально выдерживать весь нормативный срок эксплуатации.
без эрозии, разрушения, и с минимальным (нормативным) нейтронным распуханием.
собственно это и есть основная задача, всегда стоявшая перед разработчиками любого вида ТфЯРД
Разница существенная. Если утечка активной зоны будет иметь место на высоте (километров, так, в сто), то радиокативные вещества, которых будет не более нескольких килограмм, рассеются на очень большую площадь, не превысив ПДК.
Сама по себе установка на то, что ТФЯРД должен быть на 100 % безопасной и не давать утечки радиоактивных материалов, ИМХО, ошибочна. Она налагает слишком большие ограничения на размеры ТФЯРД, на их мощность, фактически лишая их всяких преимуществ перед ЖРД. Тем самым, космонавтика попадает в тупик, лишённая возможности развиваться.
Нужно, ИМХО, с самого начала отдавать себе отчёт, что ТФЯРД безопасными не могут быть в принципе (так же как супертяжи, типа "Вулкана" в принципе не могут быть экономически эффективными). Поэтому нужно подобрать правильную стратегию их использования - не делать ставку на то, что атомные носители будут использоваться регулярно и массово, а, наоборот, исходить из того, что летать они будут редко для осуществления конкретных уникальных операций. Например, для быстрого в 10-20 пусков, освоения Луны и закладки там полноценной колонии с полноценной промышленной базой. Так чтобы потом все тяжёлые носители стартовали бы исключительно с Луны, где нет экологических органичений.

vlad7308

#158
ЦитироватьДмитрий Инфан пишет:
Если утечка активной зоны будет иметь место на высоте (километров, так, в сто), то радиокативные вещества, которых будет не более нескольких килограмм, рассеются на очень большую площадь, не превысив ПДК.
это верно, да
соответственно, важна именно высота и роза ветров, а не "атмосфера-не атмосфера"

ЦитироватьДмитрий Инфан пишет:
Сама по себе установка на то, что ТФЯРД должен быть на 100 % безопасной и не давать утечки радиоактивных материалов, ИМХО, ошибочна. Она налагает слишком большие ограничения на размеры ТФЯРД, на их мощность, фактически лишая их всяких преимуществ перед ЖРД. Тем самым, космонавтика попадает в тупик, лишённая возможности развиваться.
это тоже верно.

ЗЫ но кусок моей мессаги о взрыве активной зоны вследствие эрозии ТВЭЛов Вы выпилили зря :)
это оценочное суждение

mark2000

Цитироватьpkl пишет:
Цитироватьmark2000 пишет:
Цитироватьpkl пишет:
Итак, главная проблема: увеличить по максимуму поверхность теплообмена.
 
На самом деле все не так просто.
Чем более сложный путь проходит рабочее тело, тем большее сопротивление испытывает. Следовательно, что бы не потерять в расходе и тяге, придется повышать давление. А оно и так 300 атмосфер.

Для мощных двигателей возможно наоборот придется снижать сопротивление потоку чтобы увеличить расход (с некоторой потерей скорости истечения, разумеется).
А возможно регулировать эти параметры? Допустим, стартуем с Земли с повышенным расходом и умеренной скоростью истечения /как у ЖРД/, а потом потихоньку уменьшаем расход и повышаем скорость истечения, по мере разгона.
Можно, конечно. Надо только что бы турбонасос мог работать на повышенном расходе. Но много это не даст. Лучше уж попытаться двухкомпонентный двигатель сделать. К примеру на водороде и метане. Здесь можно почти трехкратное изменение тяги получить.