Расположение форсунок в камере сгорания

Автор korund, 02.03.2010 22:33:20

« назад - далее »

0 Пользователи и 2 гостей просматривают эту тему.

korund

Я тут пару деньков подумал как достичь эффекта в КС и пришел к такому выводу:
Во первых оба компонента топлива должны быть жидкими
2. компоненты топлива должны подаваться в область кумулятивного газового сопла на скорости минимум 5км/с, а лучше 8км/с. (поскольку такая скорость стоит на пределе текучести металла, то задача создания таких форсунок и агрегатов подачи топлива крайне сложная
3. Нету смысла возится с эффеком если хотя бы десятки процентов всего горючего не превращаются в кумулятивную струю со скоростью истечения минимум в 1.5 раза большей чем из обычного сопла.
4. На выходе мы получим максимум 20% к тяге (если все очень хорошо сделать), но скорее всего не более 10%
5. Создание эффекта усложнит конструкцию двигателя, сделает его более тяжелым, сделает больше КС, но меньше сопло, но никак не помешает созданию тяги обычным способом.
6. Опыт может пригодиться пи создании ТЯРД
Самый опасный вид деятельности - иметь дело с дураками.

korund

Цитировать
ЦитироватьА нас, простите, в камере сгорания давление какое?????

А это не имеет никакого значения.
Чисто закон сохранения энергии.
Имеет, имеет дело в том если эффект получен, то он никак не может помешать созданию тяги обычным способом, скорее только помочь.
Самый опасный вид деятельности - иметь дело с дураками.

korund

Цитировать
ЦитироватьУ меня данных нет,  когда использовались динамиты кумулятивного эффекта еще не знали....
Вообще-то он именно тогда и был открыт...
Прочитал, вы правы, но широкое распространение получил только после второй мировой.
Самый опасный вид деятельности - иметь дело с дураками.

korund

ЦитироватьЧто то не слышно Корунда.
Увы времени на форум почти нет
ЦитироватьОчевидно эффект испытания нитроглицерина превзошел все ожидания. Может в прессе что нибудь сообщат?
Это вряд ли........
Самый опасный вид деятельности - иметь дело с дураками.

Старый

Цитировать2. компоненты топлива должны подаваться в область кумулятивного газового сопла на скорости минимум 5км/с, а лучше 8км/с. (поскольку такая скорость стоит на пределе текучести металла, то задача создания таких форсунок и агрегатов подачи топлива крайне сложная
Гениально! Если вы разгоняете струю ТОПЛИВА до 5-8 км/с то нет смысла возится с камерой сгорания. Просто напрявляете струю за борт и имеете удельный импульс 500-800 секунд. (Апрочем если бы вы были способны это понять то не написали бы такую ерунду)
1. Ангара - единственная в мире новая РН которая хуже старой (с) Старый Ламер
2. Назначение Роскосмоса - не летать в космос а выкачивать из бюджета деньги
3. У Маска ракета длиннее и толще чем у Роскосмоса
4. Чем мрачнее реальность тем ярче бред (с) Старый Ламер

RadioactiveRainbow

Цитировать
Цитировать2. компоненты топлива должны подаваться в область кумулятивного газового сопла на скорости минимум 5км/с, а лучше 8км/с. (поскольку такая скорость стоит на пределе текучести металла, то задача создания таких форсунок и агрегатов подачи топлива крайне сложная
Гениально! Если вы разгоняете струю ТОПЛИВА до 5-8 км/с то нет смысла возится с камерой сгорания. Просто напрявляете струю за борт и имеете удельный импульс 500-800 секунд. (Апрочем если бы вы были способны это понять то не написали бы такую ерунду)
Бугога! Спасибо, поржал ))))
Глупость наказуема

Штуцер

ЦитироватьЯ тут пару деньков подумал как достичь эффекта в КС и пришел к такому выводу:
Во первых оба компонента топлива должны быть жидкими
2. компоненты топлива должны подаваться в область кумулятивного газового сопла на скорости минимум 5км/с, а лучше 8км/с. (поскольку такая скорость стоит на пределе текучести металла, то задача создания таких форсунок и агрегатов подачи топлива крайне сложная
Подумайте еще пару деньков, как разогнать жидкость до 5км/с, а лучше 8км/с (я Вам советую применить H2O) и революция в космонавтике обеспечена!
Насчет скорости и предела текучести Вы прочитали в  Википедии как то невнимательно. Попробуйте еще раз.
Но в виде обломков различных ракет
Останутся наши следы!

korund

Цитировать
Цитировать2. компоненты топлива должны подаваться в область кумулятивного газового сопла на скорости минимум 5км/с, а лучше 8км/с. (поскольку такая скорость стоит на пределе текучести металла, то задача создания таких форсунок и агрегатов подачи топлива крайне сложная
Гениально! Если вы разгоняете струю ТОПЛИВА до 5-8 км/с то нет смысла возится с камерой сгорания. Просто напрявляете струю за борт и имеете удельный импульс 500-800 секунд. (Апрочем если бы вы были способны это понять то не написали бы такую ерунду)
Да! насчет 5-8км/с бред полнейший (что то я ступил  :oops: )
Если так сделать то сопло бы только мешало.......
Как я понимаю топливо в КС должно вообще подаваться только с чуть большим давлением и с минимальной скоростью..........
Самый опасный вид деятельности - иметь дело с дураками.

korund

Резюме:
В общем не получится из-за того, что нельзя создать высокое качество горения, то есть пока все компоненты топлива перемешаются и начнут гореть, а затем сгорят. Газы за это время настолько расширятся, что нужную разность давлений не создадут.
Других фундаментальных причин нет!!!
Самый опасный вид деятельности - иметь дело с дураками.

Andrey

Цитировать
Цитировать
ЦитироватьА нас, простите, в камере сгорания давление какое?????

А это не имеет никакого значения.
Чисто закон сохранения энергии.
Имеет, имеет дело в том если эффект получен, то он никак не может помешать созданию тяги обычным способом, скорее только помочь.
Если эффект получен, то газы ,за счет которых разогнали быструю струю, будут иметь более низкую температуру и давление.
И не до-берут скорость.

Andrey

ЦитироватьРезюме:
В общем не получится из-за того, что нельзя создать высокое качество горения, то есть пока все компоненты топлива перемешаются и начнут гореть, а затем сгорят. Газы за это время настолько расширятся, что нужную разность давлений не создадут.
Других фундаментальных причин нет!!!
Есть фундаментальная причина.
Это энергетически не выгодно.

Filas

ЦитироватьРезюме:
В общем не получится из-за того, что нельзя создать высокое качество горения, то есть пока все компоненты топлива перемешаются и начнут гореть, а затем сгорят. Газы за это время настолько расширятся, что нужную разность давлений не создадут.
Других фундаментальных причин нет!!!
Не знаете - не пишите.
"Качество горения", как вы выразились, достигает 97-99%. Этого вам мало?
про перепад давления внутри КС - это просто феерично.

АниКей

... Представим себе такой снаряд: металлическая продолговатая камера (формы наименьшаго сопротивления), снабженная светом, кислородом, поглотителями углекислоты, миазмов и других животных выделений, - предназначена не только для хранения разных физических приборов, но и для управляющаго камерой разумнаго существа (будем разбирать вопрос по возможности шире). Камера имеет большой запас веществ, которыя при своем смешении тотчас же образуют взрывчатую массу. Вещества эти правильно и довольно равномерно взрываясь в определенном для того месте, текут в виде горячих газов по расширяющимся к концу трубам, вроде рупора или духового музыкальнаго инструмента. Трубы эти расположены вдоль стенок камеры, по направлению ея длины. В одном узком конце трубы совершается смешение взрывчатых веществ: тут получаются сгущенные и пламенные газы. В другом, расширенном ея конце они, сильно разредившись и охладившись от этого, вырываются наружу, через раструбы, с громадною относительною скоростью. Понятно, что такой снаряд, как и ракета, при известных условиях, будет подниматься в высоту. Необходимы автоматические приборы, управляющие движением ракеты (так будем мы иногда называть наш прибор) и силою взрывания по заранее намеченному плану...

К.Э.Циолковский, "Исследование мировых пространств реактивными приборами", С.-Петербург: "Научное обозрение", № 5, 1903, с. 48

http://www.kosmopoisk.ru/mkp/k170.html
http://go2starss.narod.ru/pub/E006_KDZ.html
http://kosmopoisk.org/ufo_technology/show1.html?id=168
А кто не чтит цитат — тот ренегат и гад!

АниКей

А кто не чтит цитат — тот ренегат и гад!

АниКей


Схема подачи топлива в камеру сгорания трехкомпонентного двигателя РД-704 (слева). Двухкомпонентные центробежные (тангенциальные) форсунки (справа)
http://n-t.ru/tp/ts/dos.htm
А кто не чтит цитат — тот ренегат и гад!

АниКей

А кто не чтит цитат — тот ренегат и гад!

АниКей

А кто не чтит цитат — тот ренегат и гад!

АниКей

А кто не чтит цитат — тот ренегат и гад!

АниКей

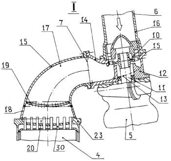
ЖРД НК-33 (11Д111) и НК-43 (11Д112)
 Форсуночная головка камеры включает центробежные форсунки горючего и струйные газовые форсунки окислителя. Поверхность переднего (огневого) днища гладкая, без антипульсационных перегородок. Задача обеспечения устойчивости рабочего процесса в камере сгорания решается организацией выноса колебательной энергии из объема камеры сгорания через удлиненные газовые форсунки, выступающие над средним днищем и образующие эффективный акустический поглотитель. Такое решение позволяет осуществлять надежное акустическое демпфирование высокочастотных колебаний в огневой части камеры сгорания при простом ее конструктивном исполнении, без нарушения оптимального расположения форсунок, при сохранении надежного охлаждения огневого днища и стенок камеры. (см. также раздел "Тракт генераторного газа").

http://www.lpre.de/sntk/NK-33/index.htm#sources
А кто не чтит цитат — тот ренегат и гад!

АниКей

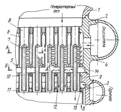
ЖРД РД-0120 (11Д122)
... Смесительная головка камеры на основе двухкомпонентных соосно-струйных форсунок имеет огневое днище с высокоэффективным транспирационным охлаждением и обеспечивает малорасходную локальную завесу для исключения местных перегревов внутренней стенки цилиндра.

http://www.lpre.de/kbkha/RD-0120/index.htm
А кто не чтит цитат — тот ренегат и гад!