Детонационные двигатели и некоторые другие вопросы

Автор BadgerM, 26.03.2008 13:10:00

« назад - далее »

0 Пользователи и 2 гостей просматривают эту тему.

salto

ЦитироватьZveruga пишет:
salto пишет:
Что же на самом деле испытали?
Испытали ВРД без компрессора работающий на сжатом воздухе и керосине.
Я понимаю, что описание есть в свободном доступе? Можно ссылку?

космофан

#361
ЦитироватьSalo пишет:
Цитироватькосмофан котофеич пишет:

а почему в обычном ЖРД не добится такой же температуры?Что-то мешает, что не мешает в детонационном?
Есть такие науки химия и физика. Они многим мешают.
вот и я думаю, поэтому некоторые прибегают к магии, детонационной  :)
кстати хороший способ проверить уровень ЖРДистов)

mihalchuk

#362
-----

Salo

http://www.paralay.com/stat/Bulat_18.pdf
ЦитироватьДЕТОНАЦИОННОЕ ГОРЕНИЕ И РАКЕТНЫЙ ДВИГАТЕЛЬ

Основными преимуществами импульсных ракетных детонационных двигателей считаются:
‣Удельный импульс ракетных двигателей на 5-10% выше, чем у криогенных ЖРД;
‣Простота конструкции и, соответственно, высокая надежность;
‣Компоненты топлива подаются в камеру сгорания при низком давлении, что позволяет отказаться от использования турбонасосных агрегатов (ТНА) и усиленных трубопроводов (некоторого упрочнения потребует лишь камера сгорания, поскольку при микровзрыве давление в ней увеличивается в 18-20 раз).

В качестве примера можно для оценки преимуществ ИДД использовать параметры маршевых ЖРД "Спейс Шаттла". Давление за ТНА жидкого водорода - около 500 атм.
Давление в камере сгорания - 210 атм. Чтобы обеспечить аналогичные условия сжигания топлива в ИДД, компоненты нужно подавать под давлением не более 10 атм.
Таким образом, основным преимуществом использования детонационного горения в ЖРД нужно признать не потенциальное увеличение КПД и удельного импульса, а радикальное снижение стоимости двигателя.
"Были когда-то и мы рысаками!!!"

Salo

#364
http://fpi.gov.ru/laboratory/rgd
ЦитироватьЛаборатория «Детонационные ЖРД»

Совместный проект Фонда перспективных исследований и АО «НПО Энергомаш имени академика В.П.Глушко»

              
 
 
Лаборатория «Детонационные ЖРД» создана Фондом перспективных исследований в 2014 году на базе АО «НПО Энергомаш».
АО «НПО Энергомаш имени академика В.П. Глушко» – ведущее российское предприятие по разработке мощных жидкостных ракетных двигателей (ЖРД). Ракетные двигатели, разработанные в НПО Энергомаш, вывели и выводят в космос практически все отечественные космические аппараты. В их числе – первый искусственный спутник Земли, первый космический корабль с человеком на борту, орбитальная станция «Мир» и космический корабль «Буран».
В НПО Энергомаш созданы самые мощные в мире жидкостные ракетные двигатели РД-170 и РД-171 для ракет-носителей «Энергия» и «Зенит», двигатели РД-264 и РД-268 для боевых ракет Р-36М и МР-УР-100, двигатель РД-180 для американских ракет-носителей «Атлас III» и «Атлас-V», двигатель РД-191 для семейства российских ракет-носителей «Ангара».
Огромный опыт создания жидкостных ракетных двигателей и владение уникальными технологиями обеспечили основу сотрудничества предприятия с авиакосмическими организациями и компаниями всего мира.
Работа лаборатории «Детонационные ЖРД» ведётся в кооперации с ФГБОУ ВПО МАИ (НИУ) и ФГБОУ ИГиЛ СО РАН и направлена на создание демонстратора жидкостного ракетного двигателя, работающего в режиме непрерывной спиновой детонации. В ходе реализации данного проекта планируется изучить возможности повышения тягово-экономических характеристик двигателя путем организации детонационного горения, а также способов обеспечения работоспособности конструкции двигателя при высочайших температурах и параметрах давления внутри камеры сгорания, возникающих при работе в детонационном режиме при отсутствии охлаждения пристеночного слоя.
"Эту лабораторию мы рассматриваем как одну из флагманских в направлении физико-технических исследований Фонда перспективных исследований. Это связано не только с возможным прикладным технологическим значением ожидаемых результатов ее работы, но и с теми научно-техническими заделами по смежным направлениям, которые могут проявиться в результате проводимых исследований"
 
 
 Игорь Денисов,
заместитель генерального директора Фонда - руководитель направления  физико-технических исследований
 
"Для успешной реализации проекта к работе были привлечены только лучшие кадры АО «НПО Энергомаш». Полученные на сегодняшний момент промежуточные контрольные результаты были достигнуты благодаря уникальным специалистам производственных цехов, конструкторам с многолетним опытом создания двигателей и инженерам высочайшего класса"
 
 
 Борис Сатовский,
руководитель проектной группы Фонда
 
 
"Вопрос о создании качественно новых двигателей, использующих экологически чистое топливо, с прорывными характеристиками с каждым годом становится все острее и уже давно приобрел мировой масштаб. В настоящее время в качестве альтернативы традиционному сжиганию топлив в турбулентном пламени рассматриваются способы их детонационного сжигания. Успешная реализация данного проекта в последствии позволит получить экономичный ракетный двигатель, работающий в режиме управляемой непрерывной спиновой детонации и обладающий улучшенными тягово-экономическими характеристиками"
  
Сергей Маркин,
 руководитель проекта Фонда 
Новизна данных исследований определена применением принципиально новых способов организации рабочего процесса в камере сгорания жидкостного ракетного двигателя и использованием для создания его конструкции не имеющих аналогов высокотемпературных теплозащитных покрытий со специфическими свойствами. Эти покрытия позволяют обеспечить работоспособность стенки камеры сгорания без системы охлаждения в течение заданного времени. Более того исследования позволят получить понимание о возможностях и пределах детонации топливной пары кислород-керосин.
Особое место в проекте отведено исследованиям процесса смесеобразования топлива и поиску новых подходов в конструкции смесительных головок, позволяющих получать капли топливной смеси необходимого размера, состава и концентрации.
В результате реализации проекта будет создан новый ракетный двигатель, который ляжет в основу нового класса ракет-носителей. Кроме того, в ходе реализации проекта будет разработан ряд уникальных технологий, математических моделей и программных продуктов, которые могут быть использованы для других перспективных работ.
В настоящее время в составе лаборатории работают девять человек. Это ведущие сотрудники конструкторского бюро АО «НПО Энергомаш», которые имеют уникальный опыт расчетов и разработки конструкций ЖРД, а также проведения научно-исследовательских работ в области создания перспективных инновационных ракетных двигателей.
 
"Мы благодарны Фонду перспективных исследований за предоставленную возможность принять участие в крайне интересной и определенно перспективной работе по созданию жидкостных ракетных двигателей совершенно нового поколения и класса. Полагаю, что если наши исследования увенчаются успехом это станет выдающимся научно-техническим прорывом и позволит отечественной космонавтике и впредь неизменно опережать любых конкурентов"
 
 
Владимир Чванов,
заместитель генерального директора, главный конструктор
 
 
 
"Тема этой работы уже давно интересовала специалистов нашего предприятия, и мы рады, что появилась возможность реализовать проект по углубленному изучению процессов, происходящих при детонационном сжигании топлив. При успешной реализации проекта его результаты однозначно найдут практическое применение в космической отрасли РФ"
  
Петр Левочкин,
первый заместитель главного конструктора
НПО «Энергомаш»
 
"Наше изучение непрерывной спиновой детонации опирается на фундамент, заложенный при изучении классической детонации газовых и гетерогенных сред. Сложившийся научный коллектив обладает высоким потенциалом и опытом, позволяющим рассчитывать на достижение положительного результата в запланированные сроки"
 
 
 
Леонид Стернин,
руководитель лаборатории
 
 
"Были когда-то и мы рысаками!!!"

mihalchuk

На что только не идут люди, чтобы выбить финансирование. И с ФПИ, и с РКК Энергия.

космофан

ЦитироватьSalo пишет:
ДЕТОНАЦИОННОЕ ГОРЕНИЕ И РАКЕТНЫЙ ДВИГАТЕЛЬ

Основными преимуществами импульсных ракетных детонационных двигателей считаются:
‣Удельный импульс ракетных двигателей на 5-10% выше, чем у криогенных ЖРД;
‣Компоненты топлива подаются в камеру сгорания при низком давлении, что позволяет отказаться от использования турбонасосных агрегатов (ТНА) и усиленных трубопроводов (некоторого упрочнения потребует лишь камера сгорания, поскольку при микровзрыве давление в ней увеличивается в 18-20 раз).
удельный импульс выше всего 5%?  Это что шутка?

здесь Зверюга всех пугал температурой, в 6000 С, а это должно было увеличть УИ как минимум на 30%, а в итоге только 5%
"Упрочнения потребует лишь камера сгорания, в обмен на облегчение ТНА и трубопроводов"

ЦитироватьSalo пишет:
В качестве примера можно для оценки преимуществ ИДД использовать параметры маршевых ЖРД "Спейс Шаттла". Давление за ТНА жидкого водорода - около 500 атм.
Давление в камере сгорания - 210 атм. Чтобы обеспечить аналогичные условия сжигания топлива в ИДД, компоненты нужно подавать под давлением не более 10 атм.
так как сравнение Импульсного двигателя идёт с водородным двигателем, это может означать что т.н. ИДД должен улучить только удельный импульс, тогда зачем сравнивать с RS-25, может сраванить в RL-10(РД0146)? Что у РД0146 уж настолко тяжёлые ТНА и трубороводы?

Старый

Цитироватькосмофан котофеич пишет:
ЦитироватьSalo пишет:
ДЕТОНАЦИОННОЕ ГОРЕНИЕ И РАКЕТНЫЙ ДВИГАТЕЛЬ

Основными преимуществами импульсных ракетных детонационных двигателей считаются:
‣Удельный импульс ракетных двигателей на 5-10% выше, чем у криогенных ЖРД;
‣Компоненты топлива подаются в камеру сгорания при низком давлении, что позволяет отказаться от использования турбонасосных агрегатов (ТНА) и усиленных трубопроводов (некоторого упрочнения потребует лишь камера сгорания, поскольку при микровзрыве давление в ней увеличивается в 18-20 раз).
удельный импульс выше всего 5%? Это что шутка?
А с какой дури он вообще вырастет?
1. Ангара - единственная в мире новая РН которая хуже старой (с) Старый Ламер
2. Назначение Роскосмоса - не летать в космос а выкачивать из бюджета деньги
3. У Маска ракета длиннее и толще чем у Роскосмоса
4. Чем мрачнее реальность тем ярче бред (с) Старый Ламер

космофан

ЦитироватьСтарый пишет:
Цитироватькосмофан котофеич пишет:
ЦитироватьSalo пишет:
ДЕТОНАЦИОННОЕ ГОРЕНИЕ И РАКЕТНЫЙ ДВИГАТЕЛЬ

Основными преимуществами импульсных ракетных детонационных двигателей считаются:
‣Удельный импульс ракетных двигателей на 5-10% выше, чем у криогенных ЖРД;
‣Компоненты топлива подаются в камеру сгорания при низком давлении, что позволяет отказаться от использования турбонасосных агрегатов (ТНА) и усиленных трубопроводов (некоторого упрочнения потребует лишь камера сгорания, поскольку при микровзрыве давление в ней увеличивается в 18-20 раз).
удельный импульс выше всего 5%? Это что шутка?
А с какой дури он вообще вырастет?
они предполагают, что за счёт снижения расхода топлива на ТНА работающем при низком давлении.

Алексей Любопытный

Темой детонационных двигателей в нашей стране занимаются много различных государственных учреждений с начала нулевых и у каждого из них свой интересный результат. Достоверное неизвестно кто первым вывел формулу детонационного горения, но я попробую воспроизвести историю событий.
 
Есть три института вокруг которых всё крутится: ОИВТ РАН, ИХФ РАН и Самарский филиал ФИАН.

ОИВТ РАН ещё с 2002 года проводил множество экспериментов с физикой взрыва, а результаты исследований передавались коллегам в другие институты. Руководил этими экспериментами нынешний президент РАН Фортов.

 
В 2009 году Нонна Евгеньевна Молевич из Самарского филиала ФИАН (СФ ФИАН) предложила математическую модель, результаты моделирования по которой совпали с результатами экспериментов полученных Фортовым. (просто сравнили параметры снятые приборами, с ранее проведённых Фортовым экспериментов, с параметрами полученными математическим моделированием)


Но мало увидеть совпадение, формулы нужно было подтвердить, что и произошло в 2012 году в Институте химической физики им. Н. Н. Семёнова РАН (ИХФ РАН). Тогда впервые в мире было получено управляемое импульсно-детонационное горение. Исследования проводил д. ф. -м. н. С. М. Фролов.


Результаты предварительного моделирования воспроизвели на детонационной трубе в Центре ИДГ, который структурно входит в ИХФ РАН.


Но и этого конечно же было недостаточно. Результаты нужно было воспроизвести в других, более сложных процессах горения. По этому решили воспроизвести непрерывную детонацию в кольцевой камере сгорания Войцеховского (КНД).



С 2011 года Центр ИДГ проводит эксперименты с кольцевыми камерами сгорания.






В 2014 году были получены интересные результаты в водородо-воздушном и метано-кислородном прототипах двигателя, которые при прочих равных условиях были на 6-7% и 7-8% выше чем у аналогичных ЖРД. При этом двигатель получался в 4 раза дешевле.

На основании результатов полученных при испытании прототипов в Центре ИДГ РКК Энергия приняла решение используя мощности НПО Энергомаш строить полноразмерный жидкостный ракетный детонационный двигатель (ЖРДД).

Двигатель создаваемый в НПО Энергомаш это первый реальный (его планируют устанавливать на реальные космические ракеты) детонационный двигатель в мире. Его испытания должны состояться в конце 2016 года.

Успех Центра ИДГ связан с применением кольцевой камеры непрерывного детонационного сгорания, но есть и другой механизм, который позволил получить прирост удельного импульса, это полусферическая резонаторная камера с кольцевым соплом.
.
КБ Люльки испытывали свой аппарат на основе полусферической резонансной камеры с кольцевым соплом ещё в 2004 году, а до него этот аппарат испытывался в Троицком институте термоядерных исследований и других. Тогда были получены результаты расходящиеся со стандартной теорией, требовавшие объяснения.


В 2013 году были получены очень интересные результаты в воздушно-керосиновом ВРД, с удельной тягой на 30%-50% лучше чем у турбореактивных ВРД с аналогичной тягой. На основании результатов созданного ими прототипа Фонд перспективных исследований (ФПИ) принимает решение разрабатывать двигатель для многофункционального истребителя шестого поколения и специально для КБ Люльки под этот проект покупают суперкомпьютер мощностью 31 терафлопс.


Далее Минпромторг решил распространить успех КБ Люльки, связанный с применением полусферического резонатора, на другие проекты.

В 2008-2010 годах в Серпуховском военном институте ракетных войск (СВИ РВ) придумали, построили и испытали прототип комбинированного воздушно-реактивного и жидкостно-реактивного двигателя для воздушно-космического самолёта. Недостатком прототипа было применение импульсного детонационного двигателя в виде трубки.


Частота детонаций в такой камере сгорания достигала всего 80 Герц, что было недостаточным для экономии топлива. Для совершенствования аппарата было предложено использовать камеры сгорания с более высокой частотой детонаций. Таким соответствует КНД Центра ИДГ и полусферический резонатор КБ Люльки.

В итоге воздушно-космический двигатель СВИ РВ обрёл новую жизнь, о чём было заявлено в СМИ. Результаты испытаний нового прототипа оказались положительными и было решено наладить сотрудничество с НПО Молния для создания воздушно-космического самолёта, которым скорее всего и будет многофункциональный истребитель шестого поколения.



Кроме ЖРДД с 2014 года в Центре ИДГ исследуется гидрореактивный импульсно-детонационный двигатель (ГРИДД). По сути это водомётный движитель с детонационным генератором реактивной струи газа. Реактивная газовая струя увлекает за собой воду и образует реактивную водную струю.

Очень интересный проект. Детонационный генератор самый простой - импульсная трубка. Непрерывная струя создаётся с помощью набора трубок периодически генерирующих детонацию. Срок завершения проекта конец 2016 года.

Выглядеть должен где-то так.



Самое простое применение импульсных детонационных двигателей в виде трубки возможно в качестве маневровых космических двигателей.


В настоящий момент на основании имеющейся математической модели ИТМО проектирует серию детонационных двигателей для различных военных ракет - В-В, В-З, З-З, - и БПЛА. Информацию о попытке применении стриммеров в разрабатываемом ими двигателе вы уже видели тут ранее. Думаю о результатах мы узнаем в конце 2016 года.
Спойлер
Цитировать2012_registration пишет:
Не знаю кому как, а я бы хотел, чтобы в этой теме не было диалогов душевнобольных, а была только собственно информация по проекту ЯЭДУ.

Старый пишет:
Дык нет проекта. Его не смогли даже завязать.
[свернуть]

Алексей Любопытный

Цитироватькосмофан котофеич пишет:

удельный импульс выше всего 5%?Это что шутка?

здесь Зверюга всех пугал температурой, в 6000 С, а это должно было увеличть УИ как минимум на 30%, а в итоге только 5%
Ранее я уже говорил это, но снова вынужден повторить. Испытания проводили на прототипах из дешёвых материалов. Использовали медь и латунь, которые прогорали во время экспериментов. Главное это то, что результаты экспериментов совпали с результатами моделирования.

При этом полученная модель позволила спроектировать двигатель с нормальными материалами, позволяющими достичь более высоких температур. Именно такой двигатель и собираются теперь создать.

Я напомню, что удельная тяга была всего на 7-8% лучше, но стоимость двигателя оказывалась в 4 раза меньше чем у аналогичного с той же тягой (просто тягой, а не удельной). И достигалось это как раз применением дешёвых материалов, которые были не способны выдерживать высокие температуры. По этому действительно, откуда вырасти удельной тяге?

Результаты моделирования предсказывают рост в 20-30% удельной тяги.
Спойлер
Цитировать2012_registration пишет:
Не знаю кому как, а я бы хотел, чтобы в этой теме не было диалогов душевнобольных, а была только собственно информация по проекту ЯЭДУ.

Старый пишет:
Дык нет проекта. Его не смогли даже завязать.
[свернуть]

Алексей Любопытный

Цитироватькосмофан котофеич пишет:
а почему в обычном ЖРД не добится такой же температуры?Что-то мешает, что не мешает в детонационном?
Конструкционные материалы.

1. Вы из чего корпус такого реактора в ЖРД делать собрались?

2. Как вы собираетесь делать насос, который должен будет нагнетать под бешеным давлением топливо в реактор?
Спойлер
Цитировать2012_registration пишет:
Не знаю кому как, а я бы хотел, чтобы в этой теме не было диалогов душевнобольных, а была только собственно информация по проекту ЯЭДУ.

Старый пишет:
Дык нет проекта. Его не смогли даже завязать.
[свернуть]

Алексей Любопытный

ЦитироватьSalo пишет:
Инициатором в РККЭ являлся Солнцев, который до этого рулил Энергомашем.
Там он этих идей и нахватался. О том кто и когда инициировал:
Выходит у меня информации на эту тему больше.
Спойлер
Цитировать2012_registration пишет:
Не знаю кому как, а я бы хотел, чтобы в этой теме не было диалогов душевнобольных, а была только собственно информация по проекту ЯЭДУ.

Старый пишет:
Дык нет проекта. Его не смогли даже завязать.
[свернуть]

Алексей Любопытный

Цитироватьsalto пишет:
Я понимаю, что описание есть в свободном доступе? Можно ссылку?
Смотря на что. Испытаний с нулевых было огромное количество.
Спойлер
Цитировать2012_registration пишет:
Не знаю кому как, а я бы хотел, чтобы в этой теме не было диалогов душевнобольных, а была только собственно информация по проекту ЯЭДУ.

Старый пишет:
Дык нет проекта. Его не смогли даже завязать.
[свернуть]

Алексей Любопытный

ЦитироватьSalo пишет:
http://www.paralay.com/stat/Bulat_18.pdf
Сало, в этой ссылке вы сослались на Павла Булата, который в ИТМО сейчас разрабатывает детанационники для ракет и БПЛА. Я лично с ним общался и у меня есть своя тема по детанационникам на Паралае. Я понимаю откуда Павел получил свою информацию. Об этом я сообщил в большом комментарии выше, где описал историю событий.
Спойлер
Цитировать2012_registration пишет:
Не знаю кому как, а я бы хотел, чтобы в этой теме не было диалогов душевнобольных, а была только собственно информация по проекту ЯЭДУ.

Старый пишет:
Дык нет проекта. Его не смогли даже завязать.
[свернуть]

Старый

Цитироватькосмофан котофеич пишет:
ЦитироватьСтарый пишет: 
А с какой дури он вообще вырастет?
они предполагают, что за счёт снижения расхода топлива на ТНА работающем при низком давлении.
В двигателях замкнутой схемы потерь энергии на привод ТНА нет.
1. Ангара - единственная в мире новая РН которая хуже старой (с) Старый Ламер
2. Назначение Роскосмоса - не летать в космос а выкачивать из бюджета деньги
3. У Маска ракета длиннее и толще чем у Роскосмоса
4. Чем мрачнее реальность тем ярче бред (с) Старый Ламер

Сергей Капустин

Zveruga, а в открытой печати статьи на эту тему есть? просто профиль не мой, не представляю по каким журналам (научного профиля) гуглить.

Salo

Цитировать
Цитировать
ЦитироватьZveruga пишет:
Ракетный ЖРД с детонационным горением делает РКК Энергия и планирует испытать его в этом 2016 году. По заявлению президента РКК Энергия Владимира Солнцева, рабочая температура в камере сгорания будет 6000 °С.
Salo пишет:
Инициатором в РККЭ являлся Солнцев, который до этого рулил Энергомашем.
Там он этих идей и нахватался. О том кто и когда инициировал:
Zveruga пишет:
Выходит у меня информации на эту тему больше.
Т.е. работы инициировали не в Энергомаше в мае 2013 года, а в РККЭ в августе 2015-го?
"Были когда-то и мы рысаками!!!"

salto

ЦитироватьZveruga пишет:
salto пишет:
Я понимаю, что описание есть в свободном доступе? Можно ссылку?
Смотря на что. Испытаний с нулевых было огромное количество.
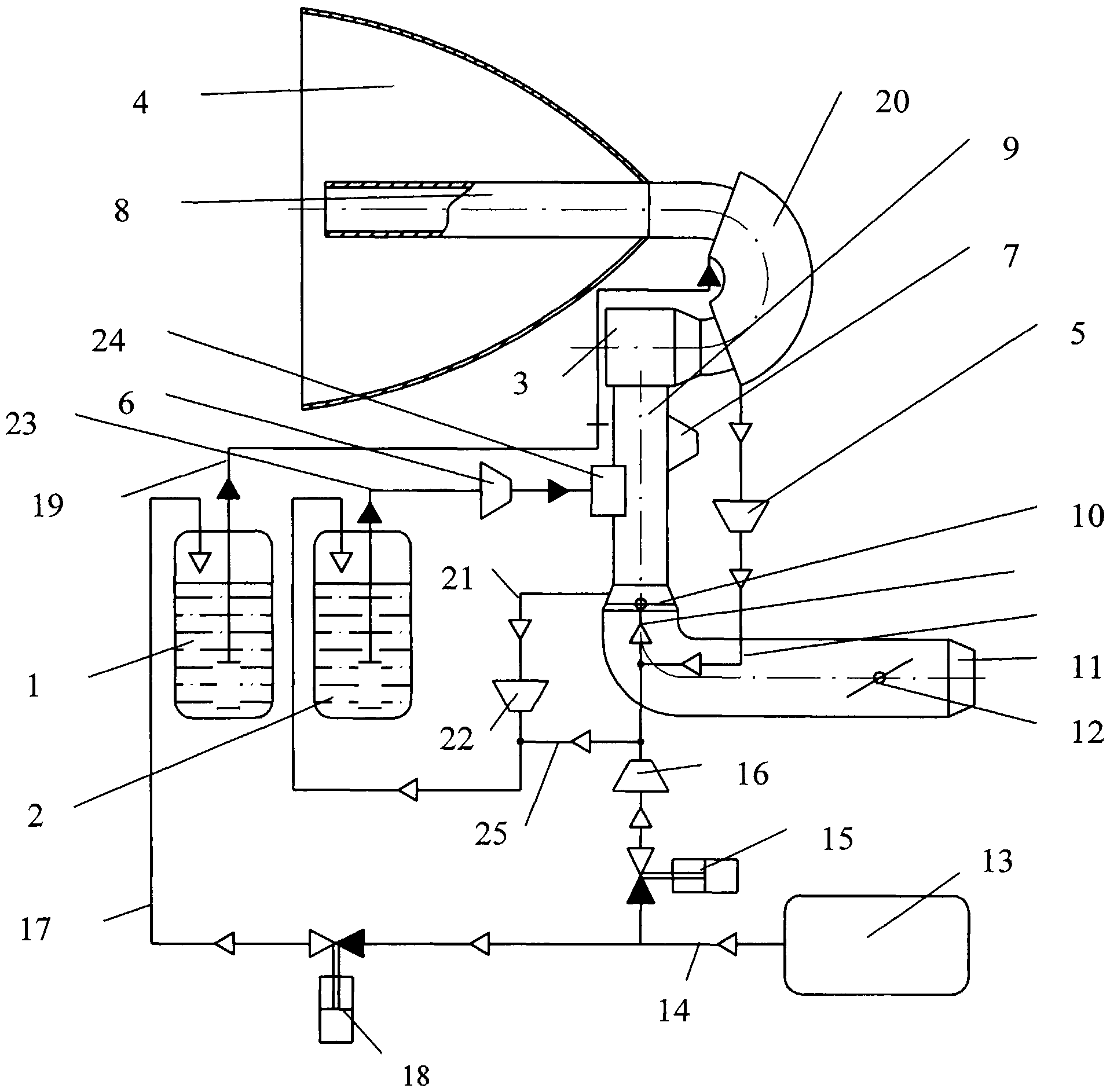
Я имел в виду описание к рисунку, приведенному в Вашем посте 348

Алексей Любопытный

ЦитироватьСергей Капустин пишет:
Zveruga , а в открытой печати статьи на эту тему есть? просто профиль не мой, не представляю по каким журналам (научного профиля) гуглить.
Есть и их очень много. Все свои сведения я почерпнул из статей в научных журналах и СМИ. Я перелопатил кучу информации и потерял много времени.

Если нужно я могу давать ссылки на что-то конкретное. Собирать их все по очередной просьбе утомительно.
Спойлер
Цитировать2012_registration пишет:
Не знаю кому как, а я бы хотел, чтобы в этой теме не было диалогов душевнобольных, а была только собственно информация по проекту ЯЭДУ.

Старый пишет:
Дык нет проекта. Его не смогли даже завязать.
[свернуть]