Плесецк. Инцидент с ракетным топливом.

Автор Lesobaza, 11.11.2013 16:29:14

« предыдущая - следующая »

0 Пользователей и 1 гость просматривают эту тему.

СашаН

ЦитатаВован пишет:
Насколько я знаю по одной из систем заправки, воздух в наземную емкость с амилом не подается. Только сжатый азот.
Да, это понятно. Я имел в виду именно нестандартную ситуацию - надо было изловчится и подать в азотную магистраль сжатый воздух.
Над нами небо в "Янтарях", а по земле разбросаны "Ромашки"...

Bell

Иногда мне кажется что мы черти, которые штурмуют небеса (с) фон Браун

СашаН

14.11.2013 16:04:26 #102 Последнее редактирование: 14.11.2013 16:05:19 от СашаН
ЦитатаBell пишет:
Ну так что - таки азот?
Вот пусть сюда Нестерчук, Майданович или Головко напишут, или вовремя соскочивший Остапенко...
Раз писали про полетевших питерцев из военмеда - скорее всего не азот, а его тетраоксид.
Над нами небо в "Янтарях", а по земле разбросаны "Ромашки"...

Вован

ЦитатаСашаН пишет:
ЦитатаBell пишет:
Ну так что - таки азот?
Вот пусть сюда Нестерчук, Майданович или Головко напишут, или вовремя соскочивший Остапенко...
Раз писали про полетевших питерцев из военмеда - скорее всего не азот, а его тетраоксид.
Пострадавшие полезли в бочку с остатками амила?
Байконур надолго - навсегда

СашаН

ЦитатаВован пишет:
Пострадавшие полезли в бочку с остатками амила?
С остатками - в смысле - с парами.
Над нами небо в "Янтарях", а по земле разбросаны "Ромашки"...

Вован

ЦитатаСашаН пишет:
ЦитатаВован пишет:
Пострадавшие полезли в бочку с остатками амила?
С остатками - в смысле - с парами.
Пары там всегда будут, т.к на стенках амил остается. Хуже, когда полезли в лужу с амилом.
Байконур надолго - навсегда

СашаН

ЦитатаВован пишет:
Пары там всегда будут, т.к на стенках амил остается. Хуже, когда полезли в лужу с амилом.
Тогда к отравлению - плюс ожоги...
Над нами небо в "Янтарях", а по земле разбросаны "Ромашки"...

LL_

Доукомплектовать эти цистерны 3-4 ящиками с шланговыми противогазами, если в частях их нет. Либо не поставлять топливо пока не устранят нарушения по работе с ним.

"Слив продукта из котла цистерны, как правило,производится выдавливанием сжатым воздухом давлением до 0,35 МПа (3,5 кг/см2),который поступает в котел через вентиль 2(см. рис.4.44) от постороннего источника (компрессора). При этом точка росы усжатого воздуха должна быть не выше минус 55 °С, т.е. в противном случаепродукт может потерять кондицию."
Разжёвано...

Штуцер

ЦитатаВован пишет:
Насколько я знаю по одной из систем заправки, воздух в наземную емкость с амилом не подается. Только сжатый азот.
Вот еще такая информация:
ЦитатаЧП произошло на одном из стартовых комплексов космодрома -- 14П25.
На его территории находятся две большие емкости с гептилом и окислителем, а также проходят железнодорожные пути, на которых периодически стоят железнодорожные цистерны. В субботу в 11 утра военнослужащие направились к одной из цистерн, в которой перевозился амил -- тетраоксид азота, использующийся в ракете в качестве окислителя для гептила. Они планировали слить амил из цистерны для ее дальнейшей очистки.
http://www.gazeta.ru/social/2013/11/13/5750637.shtml
Но в виде обломков различных ракет
Останутся наши следы!

LL_

ЦитатаBell пишет:
Ну так что - таки азот?
Те военные что на заправке, отправке цистерн и приёму докладов о гибели людей, может и не знают что "амил" это и есть тетраоксид азота (или как он там правильно по-научному называется). Могли и дезодорантом "Сирень" к примеру обозвать.
Амил ведь по химии - это ведь совсем другое...

Штуцер

14.11.2013 17:25:50 #110 Последнее редактирование: 14.11.2013 17:27:17 от Штуцер
ЦитатаLL пишет:
Могли и дезодорантом "Сирень" к примеру обозвать.
Амил ведь по химии - это ведь совсем другое...
По другому назвать не могли.
Амил и амилин в советское время это открытое название, в закрытой документации - АТ и АТИН.
Но в виде обломков различных ракет
Останутся наши следы!

LL_

Ясно. Значит на перекачке "амила" присутствовали: политрук, секретчик, профорг и т.д... И все с фильтрующими противогазами для работы с "амилом" на открытом воздухе.

Вован

14.11.2013 17:52:15 #112 Последнее редактирование: 14.11.2013 21:26:26 от Вован
ЦитатаШтуцер пишет:
ЦитатаВован пишет:
Насколько я знаю по одной из систем заправки, воздух в наземную емкость с амилом не подается. Только сжатый азот.
Вот еще такая информация:
ЦитатаЧП произошло на одном из стартовых комплексов космодрома -- 14П25.
На его территории находятся две большие емкости с гептилом и окислителем, а также проходят железнодорожные пути, на которых периодически стоят железнодорожные цистерны. В субботу в 11 утра военнослужащие направились к одной из цистерн, в которой перевозился амил -- тетраоксид азота, использующийся в ракете в качестве окислителя для гептила. Они планировали слить амил из цистерны для ее дальнейшей очистки.
http://www.gazeta.ru/social/2013/11/13/5750637.shtml

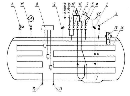
Для перевозки амила используется цистерна ЖАЦ-44. Вот ее рисунок, но она уже переоборудована для другого продукта: появился третий люк сверху.

Байконур надолго - навсегда

Вован

ЦитатаLL пишет:
Доукомплектовать эти цистерны 3-4 ящиками с шланговыми противогазами, если в частях их нет. Либо не поставлять топливо пока не устранят нарушения по работе с ним.

"Слив продукта из котла цистерны, как правило,производится выдавливанием сжатым воздухом давлением до 0,35 МПа (3,5 кг/см 2 ),который поступает в котел через вентиль 2 (см. рис.4.44 ) от постороннего источника (компрессора). При этом точка росы усжатого воздуха должна быть не выше минус 55 °С, т.е. в противном случаепродукт может потерять кондицию."
Разжёвано...
Амила это не касается. Хотя ... воздух заменяем на азот и - все получится.
Байконур надолго - навсегда

LL_

14.11.2013 20:24:53 #114 Последнее редактирование: 14.11.2013 20:26:18 от LL
Не касается? Это же из рекомендаций по эксплуатации цистерн с амилом. (справочное пособие)

"4.2.8.Цистерны для амила"

И документам верить нельзя, странно...

Штуцер

14.11.2013 20:37:18 #115 Последнее редактирование: 14.11.2013 20:38:16 от Штуцер
Что-то я чем дальше, тем меньше понимаю:
ЦитатаПолиция установила, что предполагаемым виновником произошедшего стал один из пострадавших в результате инцидента -- капитан Сушков. Согласно обнародованным данным, он нарушил правила безопасности, спустившись в цистерну без противогаза. Там он вдохнул пары азота и при обратном подъеме, потеряв сознание, упал на дно емкости.
http://www.bfm.ru/news/236155?doctype=news
Но в виде обломков различных ракет
Останутся наши следы!

Вован

14.11.2013 21:31:15 #116 Последнее редактирование: 14.11.2013 21:32:56 от Вован
ЦитатаШтуцер пишет:
Что-то я чем дальше, тем меньше понимаю:
ЦитатаПолиция установила, что предполагаемым виновником произошедшего стал один из пострадавших в результате инцидента -- капитан Сушков. Согласно обнародованным данным, он нарушил правила безопасности, спустившись в цистерну без противогаза . Там он вдохнул пары азота и при обратном подъеме, потеряв сознание, упал на дно емкости.
http://www.bfm.ru/news/236155?doctype=news
Извините, это я с гептильной цистерной попутал. Там бы азот был. А тут, при продувке воздухом, только пары азотного тетраксида должны остаться.
Байконур надолго - навсегда

Вован

ЦитатаLL пишет:
Не касается? Это же из рекомендаций по эксплуатации цистерн с амилом. (справочное пособие)

" 4.2.8.Цистерны для амила "

И документам верить нельзя, странно...
Будем верить. Я ошибся: попутал с гептилом.
Байконур надолго - навсегда

Вован

14.11.2013 21:51:36 #118 Последнее редактирование: 14.11.2013 21:55:38 от Вован
Судя по схеме цистерны ЖАЦ-44, там нет входа и выхода для воды, чтобы промыть всю емкость. Т.е. нейтрализовать цистерну можно только продувкой воздухом. Или вместо воздуха азот подали?

Байконур надолго - навсегда

Штуцер

ЦитатаВован пишет:
Там бы азот был. А тут, при продувке воздухом, только пары азотного тетраксида должны остаться.
Мне кажется, соваться в цистерну с амильным запахом было в порядке вещей. Уверен, и цвет был. Именно поэтому я написал, что Остапенко  повезло. Вы бы сунулись тда где сильно тянет амилом? Я - нет.
Но в виде обломков различных ракет
Останутся наши следы!