Amos-4 - Зенит-3SLБ/ДМ-SLБ - Байконур 45/1 - 01.09.2013 - 00:05 ЛМВ

Автор anik, 06.09.2012 13:58:15

« назад - далее »

0 Пользователи и 1 гость просматривают эту тему.

Вован

ЦитироватьLRV_75 пишет:
ЦитироватьВован пишет:
 Продолжение графика завтра.
При формировании циклограммы стартового дня не забудьте уточнить, что перед КП эшелон от старта уезжает автоматически (без машиниста)  ;)
ОК. :D
Байконур надолго - навсегда

che wi

На Байконуре приступили к работам по графику первого стартового дня
http://www.federalspace.ru/main.php?id=2&nid=20303

ЦитироватьСегодня утром на космодроме Байконур проведен вывоз на стартовый комплекс площадки 45 ракеты космического назначения (РКН) «Зенит-2SБ» с космическим аппаратом (КА) телекоммуникации и связи «Амос-4».

Ракета космического назначения (РКН) установлена в вертикальное положение в пусковом устройстве, и к ней подстыкованы наземные коммуникации. Расчёты специалистов предприятий Роскосмоса приступили к работам с РКН по графику первого стартового дня.

Запуск КА «Амос-4» намечен на 00:05 мск 1 сентября.

-
Пресс-служба Роскосмоса | 29.08.2013

Вован

Я рад за своих товарищей, который после долгого перерыва начали работы по подготовке РКН к пуску. Сейчас пуски бывают редко - 1-2 раза в год. А ведь бывало и 2 пуска в месяц. 
С 11.00 начались работы с КА. Далее график будет такой.
11.00-00.00. Заряд батарей КА.
11.00-16.00. Проверка КА.
11.00-11.40. Введение режима СК РАБОТА СУХАЯ. Проверка сопряжения приборов разгонного блока.
Напомню: режим РАБОТА СУХАЯ – это режим режим стоянки РКН на ПУ, при котором проводятся проверки КА, РН и РБ.
Байконур надолго - навсегда

Вован



11.40-12.00. Пристыковка автостыков к заправочным горловинам РН.
12.00-13.00. Проверка адрессовки команд комплекса автоматизированного управления (КАУ) РБ на элементы пневмогидросхемы и маршевый двигатель РБ с подачей давления.
Байконур надолго - навсегда

Вован

#64
13.30-14.00. Проведение режима ЗАЩИТНЫЕ ОПЕРАЦИИ РН.
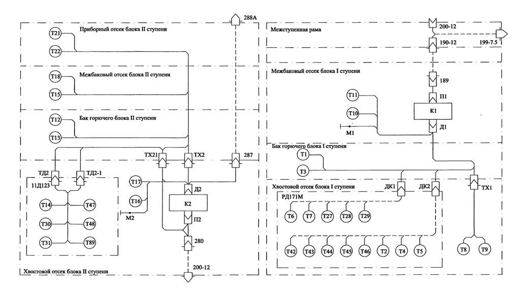
14.00-15.00. Проверка системы контроля температур (СКТ) РН, систем контроля заправки (СКЗ) РН и РБ, герметичности клапанов пневмоблока маршевого двигателя второй ступени 11Д123.

Схема системы контроля температур РН

Байконур надолго - навсегда

che wi

Ракета "Зенит" со спутником AMOS4 установлена на стартовом комплексе Байконура
http://www.interfax.ru/world/news.asp?id=325944

ЦитироватьБайконур. 29 августа. INTERFAX.RU - Ракета космического назначения "Зенит-3SLБ" ("Зенит-3М") с космическим аппаратом AMOS4 в четверг установлена на стартовом комплексе площадки N45 Байконура, сообщил агентству "Интерфакс-Казахстан" источник на космодроме.

Расчеты специалистов предприятий России и Украины приступили к работам по подготовке к пуску по графику первого стартового дня. При этом собеседник агентства подчеркнул, что особенность ракеты и стартового комплекса "Зенит" заключается в полной автоматизации процесса установки ракеты и стыковки коммуникаций.

Пуск ракеты космического назначения "Зенит-3М" с разгонным блоком ДМ-SLБ и израильским телекоммуникационным спутником "Амос-4" намечен на 00:05 мск 1 сентября.

-
Интерфакс | 29 августа 2013 года - 13:42

Вован

#66
Цитироватьche wi пишет:
 Ракета "Зенит" со спутником AMOS4 установлена на стартовом комплексе Байконура
 http://www.interfax.ru/world/news.asp?id=325944
ЦитироватьБайконур. 29 августа. INTERFAX.RU - Ракета космического назначения "Зенит-3SLБ" ("Зенит-3М"  ;)  с космическим аппаратом AMOS4 в четверг установлена на стартовом комплексе площадки N45 Байконура, сообщил агентству "Интерфакс-Казахстан" источник на космодроме.

Расчеты специалистов предприятий России и Украины приступили к работам по подготовке к пуску по графику первого стартового дня. При этом собеседник агентства подчеркнул, что особенность ракеты и стартового комплекса "Зенит" заключается в полной автоматизации процесса установки ракеты и стыковки коммуникаций.

Пуск ракеты космического назначения "Зенит-3М" с разгонным блоком ДМ-SLБ и израильским телекоммуникационным спутником "Амос-4" намечен на 00:05 мск 1 сентября.

-
Интерфакс | 29 августа 2013 года - 13:42
Источник не в курсе процесса установки РКН на ПУ. Автоматизации никакой там уже нет, поскольку все операции по установке проводятся оператором стартового оборудования путем нажатия соответствующих символов операций на дисплее компьютера. И так 6 раз для 6 операций. Такой режим появился ввиду необходимости делать перерыв при установке РКН Зенит-3SLБ. Перерывы нужны для ручной отстыковки транспортной системы термостатирования от КГЧ, для ручной подстыковки трубопроводов системы термостатирования СК и для переноса стыковки заправочных автостыков на более позднее время. В результате циклограмма автоматизированной установки РКН на ПУ не запускается.
Байконур надолго - навсегда

Вован

В 15.00 работы по графику первого стартового дня закончатся. С 15.00 и до утра будет поддержание СК в режиме РАБОТА СУХАЯ дежурным расчетом. В этом режиме РКН установлена на пусковой стол, ведется термостатирование всех отсеков РКН от воздушной системы системы 11Г369, к РКН пристыкован заправочный автостык. Система теленаблюдения ведет контроль состояния элементов РКН и оборудования СК без регистрации. Включена телефонная, шлемофонная и громкоговорящая связь. Руководитель работ на СК, руководитель работ по КГЧ и операторы систем газового контроля, энергоснабжения, системы термостатирования, стартового оборудования, пожаротушения, газоснабжения и теленаблюдения находятся на своих рабочих местах. Все остальные - по домам и гостиницам.
 На завтра намечен контроль приводов РН и режим КНСГ.
Байконур надолго - навсегда


che wi

#69
Cостоялся вывоз на стартовый комплекс РКН "Зенит-3SLБ" с РБ "ДМ-SLБ" и КА "Амос-4"
http://www.energia.ru/ru/launchers/land-launch/amos-4/photo_08-29.html

ЦитироватьНа космодроме Байконур продолжается подготовка к запуску ракеты-носителя (РН) "Зенит-2SБ" с разгонным блоком "ДМ-SLБ" и израильским космическим аппаратом "Амос-4".

Сегодня состоялся вывоз РКН на стартовый комплекс. После завершения операций по установке ракеты в пусковое устройство и подстыковке к ней наземных коммуникациий, расчеты приступили к работам по графику первого стартового дня.

Запуск ракеты космического назначения "Зенит-3SLБ" с разгонным блоком "ДМ-SLБ" и космическим аппаратом "Амос-4" запланирован на 1 сентября с.г. в 00:05 по московскому времени.

-
РКК "Энергия" им. С.П. Королева | 29.08.2013

Вован

График работ на 30.08.2013 года (2-й стартовый день). Время московское.
Круглосуточно - заряд батарей КА.
7.00-7.30. Построение расчета у сооружения № 3 СК, инструктаж, контроль исходного состояния РКН и наземки.
7.30-8.00. Подготовка к режиму КОНТРОЛЬ ПРИВОДОВ РН.
Продолжу завтра.
Байконур надолго - навсегда

Leroy

#71
del.

Leroy

Цитироватьche wi пишет:
 Ракета "Зенит" со спутником AMOS4 установлена на стартовом комплексе Байконура
 http://www.interfax.ru/world/news.asp?id=325944
ЦитироватьБайконур. 29 августа. INTERFAX.RU - Ракета космического назначения "Зенит-3SLБ" ("Зенит-3М" ) с космическим аппаратом AMOS4 в четверг установлена на стартовом комплексе площадки N45 Байконура, сообщил агентству "Интерфакс-Казахстан" источник на космодроме.

А что такое "Зенит-3М"?

Атяпа

#73
ЦитироватьТризенит!
И днём и ночью кот - учёный!

Leroy

ЦитироватьАтяпа пишет:
ЦитироватьТризенит!
:D  :D

Вован

ЦитироватьLeroy пишет:
Цитироватьche wi пишет:
 Ракета "Зенит" со спутником AMOS4 установлена на стартовом комплексе Байконура
 http://www.interfax.ru/world/news.asp?id=325944
ЦитироватьБайконур. 29 августа. INTERFAX.RU - Ракета космического назначения "Зенит-3SLБ" ("Зенит-3М" ) с космическим аппаратом AMOS4 в четверг установлена на стартовом комплексе площадки N45 Байконура, сообщил агентству "Интерфакс-Казахстан" источник на космодроме.

А что такое "Зенит-3М"?
Этого не знает даже источник на космодроме. :cry:
Байконур надолго - навсегда

Leroy

ЦитироватьВован пишет:
ЦитироватьLeroy пишет:
Цитироватьche wi пишет:
 Ракета "Зенит" со спутником AMOS4 установлена на стартовом комплексе Байконура
 http://www.interfax.ru/world/news.asp?id=325944
ЦитироватьБайконур. 29 августа. INTERFAX.RU - Ракета космического назначения "Зенит-3SLБ" ("Зенит-3М" ) с космическим аппаратом AMOS4 в четверг установлена на стартовом комплексе площадки N45 Байконура, сообщил агентству "Интерфакс-Казахстан" источник на космодроме.

А что такое "Зенит-3М"?
Этого не знает даже источник на космодроме.  :cry:
Может, у производителя по-новому обозвали? Согласитесь, аббревиатура "SLБ" несколько нелепа.

Вован

ЦитироватьLeroy пишет:
ЦитироватьВован пишет:
ЦитироватьLeroy пишет:
Цитироватьche wi пишет:
 Ракета "Зенит" со спутником AMOS4 установлена на стартовом комплексе Байконура
 http://www.interfax.ru/world/news.asp?id=325944
ЦитироватьБайконур. 29 августа. INTERFAX.RU - Ракета космического назначения "Зенит-3SLБ" ("Зенит-3М" ) с космическим аппаратом AMOS4 в четверг установлена на стартовом комплексе площадки N45 Байконура, сообщил агентству "Интерфакс-Казахстан" источник на космодроме.

А что такое "Зенит-3М"?
Этого не знает даже источник на космодроме.  :cry:  
Может, у производителя по-новому обозвали? Согласитесь, аббревиатура "SLБ" несколько нелепа.
Еще более нелепо обозвать ракету Зенит-3М.
Байконур надолго - навсегда


Вован

8.00-8.40. Проведение режима КОНТРОЛЬ ПРИВОДОВ РН.
К сожалению, жидкостный тракт БИМ по-прежнему не проверяется. БИМ, как всегда,  раскручивается от сжатого гелия.
 8.40-10.00. Обработка и анализ телеметрии режима КОНТРОЛЬ ПРИВОДОВ РН, подготовка к контрольному набору стартовой готовности (КНСГ).
При подготовке к КНСГ проводится:
1.      Включение жидкостной системы термостатирования РБ.
2.      Проверка готовности системы телеизмерений РН.
3.      Имитация сигнала ГОТОВНОСТЬ НАЗЕМНОГО ОБОРУДОВАНИЯ К ПУСКУ.
4.      Имитация сигнала БАЛЛОНЫ ЗАПОЛНЕНЫ о заполнении «холодным» гелием погружных баллонов наддува в баках кислорода.
5.      Подготовка к работе системы газоснабжения.
6.      Подготовка наземного проверочно-пускового комплекса.
 Параллельно проводится очистка экранно-вакуумной теплоизоляции (ЭВТИ) РБ путем продувки гелием.
Байконур надолго - навсегда