Нано-АМС на любительских ракетах

Автор Tiger, 25.08.2006 12:20:38

« назад - далее »

0 Пользователи и 1 гость просматривают эту тему.

Tiger

Сразу хочу предупредить, что лапшу с моих ушей собирать не надо, но  почитать все же очень интересно.  :D

Основная ссылка: http://www.microlaunchers.com/
Организатор группы любителей астронавтики - Charles Pooley.

В презентациях (
http://www.microlaunchers.com/CSC-slides/CSC-draft-1.htm, http://www.microlaunchers.com/sa05/sa05.htm и url=http://www.microlaunchers.com/POSTER/poster.htm) излагаются предложения по использованию малых любительских ракет и КА, собираемых из компонетнтов бытовой электроники для полетов не только на LEO, но также к NEO (Near Earth Objects) и Луне. Основной упор делается на проводимую аналогию космической и компьютерной техники. Якобы, сейчас продолжается эпоха мейнфреймов, когда космические запуски дороги и доступны только государственным организациям. По их идее, уменьшение стоимости пуска АМС до доступного группе частников-энтузиастов приведет к лавинообразому росту таких групп и в итоге к кумулятивному эффекту, который должен произвести прорыв в освоении космоса.

Далее основные тезисы и идеи и идеи из презентаций с картинками.



Предлагается использовать трехступенчатый носитель, выводящий на отлетную траекторию аппарат массой 450 г. Первая ступень с ЖРД тягой 1000 фунтов (453 кгс), (топливо на всех ступенях - жидкий пропан, окислитель - жидкий кислород) оборудована также твердотопливным бустером тягой 2000 фунтов, который совместно с ЖРД обеспечивает отрыв от стола и разгон до 250 м/с на высоте 6 км. ЖРД далее обеспечивает подъем до высоты 60 км, где происходит отделение второй ступени. Первая ступень, оборудованная складным крылом, после этого производит вход в атмосферу и переходит в планирующий полет. На этом участке должен производиться ее воздушный подхват небольшим самолетом:





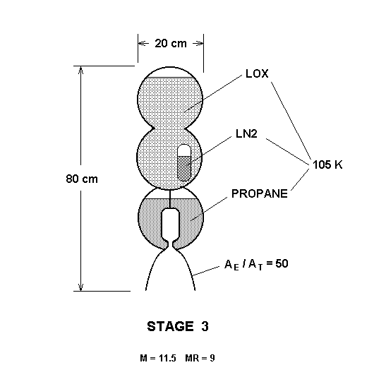
На второй ступени тяга около 0.5 - 1 кН, удельный импульс более 300 с. Наведение осуществляется системой с датчиками Солнца и горизонта Земли. Управление изменением вектора тяги. Третья ступень полной массой 11.5 кг (массовое совершенство 1/9) с тягой 100 Н и таким же удельным импульсом обеспечивает вывод ПН на отлетную траекторию.



Сам КА состоит из "beverage can electronic housing" ("электронные компоненты, собранные в пивной банке"), солнечных батарей полщадью 100 см^2, радиатора, широкоугольной камеры, широкоугольного передатчика, 10-мегапиксельной камеры для фотографирования Земли, системы ориентации с газовыми микродвигателями (аммиак, хранимый в губке, при разогревании до 300 К с помощью солнечного концентратора обеспечивает удельный импульс 150 - 180 с), а также системы связи на основе лазера от бытового привода CD-ROM и чувствительного фотодиода для приема лазерного сигнала с Земли:



Авторы утверждают, что подобный лазер на расстоянии до 1 А.Е. виден как звезда 14-й величины, что доступно для крупного любительского телескопа. Собственно, систему наземного контроля и предполагается собрать из либительского телескопа и аналогичного лазера под управлением программного обеспечения на ноутбуке.

Аппарат летит в постоянной солнечной ориентации, так, чтобы основная часть находилась в тени солнечной батареи.



Для начала планируется выводить экспериментальные АМС на околосолнечные орбиты с периодом 15-20 месяцев в целях изучения возможностей технологии. Также предлагается продавать услугу захоронения праха в космосе при помощи того же самого носителя.

Но авторы того, что они назыают бизнес-планом, идут дальше и планируют полеты к близким астероидам (NEO) и Луне для выполнения фотографирования. При этом дальнейшие перспективы включют не только сближение с такими телами, но также выход на орбиту Луны и посадку на астероиды и Луну. Замахиваются даже на доставку грунта.

Вот на этой схеме показаны два варианта обеспечения мягкой посадки на Луну, система управления посроена при помощи четырех датчиков от оптических мышей и соответствующего софта:




P.S. Что угодно, лишь бы к русским не ходить за пусковыми услугами.  :lol:
(350838) = 2002 EH163 = 2011 UN192

Pyhesty

1. Какой должен быть минимальный стартовый вес самого
совершенного РН, для вывода 1г на орбиту 200 км?
------------------------------------
лучшее - враг хорошего

pkl

Ну не знаю, не знаю.  Чтобы передавать снимки и спектры, желательна высокая скорость, для чего нужны мощные передатчики, СЭП, здоровые антенны. Особенно, если передавать планируется из пояса астероидов. Лично я сейчас склоняюсь к большим АМС вроде Джимо или Кассини. На которые можно и кучу приборов навешать, и с десято малых зондов :wink: .  По информативности эти крошки будут существенно уступать тяжёлым зондам, а вот будут ли дешевле /особенно головные/, и насколько? И как с надёжностью? Вон, в Штатах, похоже, начинают отходить от концепции Д. Голдина "быстрее, дешевле, надёжнее". Потому как получается либо быстрее, либо дешевле, либо надёжнее.
Вообще, исследовать солнечную систему автоматами - это примерно то же самое, что посылать робота вместо себя в фитнес, качаться.Зомби. Просто Зомби (с)
Многоразовость - это бяка (с) Дмитрий Инфан

Старый

А как они рассчитывают наводить лазерный луч на приёмный телескоп?
1. Ангара - единственная в мире новая РН которая хуже старой (с) Старый Ламер
2. Назначение Роскосмоса - не летать в космос а выкачивать из бюджета деньги
3. У Маска ракета длиннее и толще чем у Роскосмоса
4. Чем мрачнее реальность тем ярче бред (с) Старый Ламер

Tiger

ЦитироватьА как они рассчитывают наводить лазерный луч на приёмный телескоп?

Как я понял из презентации, просто на Землю, по датчику Земли. Типа, расхождения достаточно, чтобы попасть (?). Сомнения вызывает также способность лазера от сидюка светить сквозь атмосферу.
(350838) = 2002 EH163 = 2011 UN192

Старый

ЦитироватьКак я понял из презентации, просто на Землю, по датчику Земли.
А какого размера будет датчик Земли?
1. Ангара - единственная в мире новая РН которая хуже старой (с) Старый Ламер
2. Назначение Роскосмоса - не летать в космос а выкачивать из бюджета деньги
3. У Маска ракета длиннее и толще чем у Роскосмоса
4. Чем мрачнее реальность тем ярче бред (с) Старый Ламер

ДмитрийК

Цитировать
ЦитироватьА как они рассчитывают наводить лазерный луч на приёмный телескоп?

Как я понял из презентации, просто на Землю, по датчику Земли. Типа, расхождения достаточно, чтобы попасть (?). Сомнения вызывает также способность лазера от сидюка светить сквозь атмосферу.
Все что они написали про электронику - это вобщем бред. С другой стороны вполне возможно запихать всю электронику в небольшой объем и вес. Если Иридиум/Глобалстар нормально ловится на небольшой мобильник то нет причин почему нельзя развернуть ситуацию на 180. Придется конечно пожертвовать надежностью, ни о какой особой зашите или резервировании, сборе телеметрии и пр. речь не идет, работать будет через два раза на третий. И на коленке это не сделать, нужно все делать серьезно, как у взрослых, и денег будет стоить много.

Интересна чисто в теории возможная раскладка по массе. Каково например массовое совершенство топливного бака по типу банки с пивом? Другой вопрос что станет с банкой из-под пива на участке максимального скоростного напора :)

pkl

Вопрос в научной эффективности, в отдаче от такой АМС. Насколько она велика? Сколько приборов туда можно запихнуть? И каких? И какие эксперименты поставить? А деньги придётся тратить в любом случае.
А как-то поднимал эту тему в топике про Дип Импакт. Деньги то потратили, а какие фундаментальные открытия слелали? Чем науку обогатили?
Вообще, исследовать солнечную систему автоматами - это примерно то же самое, что посылать робота вместо себя в фитнес, качаться.Зомби. Просто Зомби (с)
Многоразовость - это бяка (с) Дмитрий Инфан

Tiger

Заданные в ветке вопросы я постарался перезадать непосредственному участнику. Получил ответы. Привожу в оригинале. Переводить много...


1. My understanding is that the bandwidth from a laser communications
would be sufficient to download low to mid resolution imagery, possible
higher resolutions once the in flight procedures and hardware are tested and
perfected.

 

On that note I've had some discussions on the boards who has
done testing with LED lasers of the type that we would be using, and he has
said that they are rather a bitch to cool in space, not that it isn't
possible, I'm sure there are some issues to deal with, but I don't think
they are not beyond solving.

2. As far as I understand the attitude, the alignment would be done
with some basic software on board the mini-craft controlling a set of micro
fly wheels powered by small electric motors or maybe nano-action capillary
micro thrusters. The software would work to align the crescent earth to the
onboard CCD under communications mode. That would put the target location of
the Earth inline with the outbound laser. LED lasers can have resolution
pointing at the level of only a few tens of nano-meters. So "hitting" a
specific spot on Earth shouldn't be difficult. I would think there is also
the option of an optical equivalent of a communications "handshake" whereby
the ground station would initiate communications with the craft.

3. Earth attitude detector would be simply the ground station, which
could be a guy in his back yard provided light pollution is low enough to
receive the communications after dark. All information should be possible to
get telemetry through the laser link. So think laptop computer and a
moderately powered amateur telescope, and some sort of tracking mechanism.

4. Well a "beverage can" style fuel tank is kind of a misnomer because
it wouldn't actually be a beverage can, it may be shaped like one, and
possibly of similar or certainly comparable size. But it may need to be
reinforced depending on the engineering requirements. I believe the beverage
can idea came between me and Charles on a phone call regarding a possible
lunar Lander design challenge. I think the challenge was to have a Lander
that would operate for a given amount of time under controlled conditions
here on Earth as part of a demonstration and competition.

5. Your right in that the cost of required testing would beat the
initial goal of easy access to space, it always will. This is true for any
business model, or any startup, but it doesn't stay that way. The ultimate
goal is to of course break past that and turn a profit, not only that but to
show that the idea is viable and make it part of this nascent private space
industry. Also to grow it beyond those with $300,000 USD who want to buy a
ride on Space Ship One, but to make space exploration available to everyone
who wants to send out a probe to explore their favorite NEO, and possibly
return samples for their own research or business projects. It doesn't take
a rocket scientist to understand the value of a few grams or even milligrams
of material returned from any NEO. For some people the experience of running
their very own space mission could justify the cost to their pocket book of
doing it. Estimated at $15,000 to $70,000 depending on what the client wants
to do with his/her mission. Obviously a sample return mission will probably
cost more. The mass may be slightly more. A rover mission may cost a bit
more. But a NEO fly-by mission would probably cost less. A HEO digi-cam
orbiter, would probably cost about the same, or slightly more than a NEO
mission. Once the launcher is developed and operational, then the biggest
cost of a launch is the payload for developing and integrating the
technology for that microsat, which could be done by a university easy.
That's why I put the cost estimate as high as $70,000.
 

So there is a need for investors to cover the cost of developing the
launcher. Charles has outlined a strong business development cycle that
defers government launch clearance until the last possible step to allow for
the extra time to get through the red tape of launch site safety
documentation and paper work, certification requirements.
 

I believe Charles gets around this by making the first stage fly straight up
for all the test flights. It would fly straight up, and fly around for a
return to landing. He has a similar approach for the 2nd stage with minimal
range requirements, and I think his 3rd stage he is expecting to leave Earth
Orbit all together. This makes the entire launch and flight out of Earth
orbit such that it happens above the horizon of the launch site.

 

The first stage flight and testing would be performed very similarly to a
UAV flight controller. Personally I like the idea of flying a remote control
rocket via a camera with an onboard video HUD system. Not much different
from a flight simulator, I picture something similar to this as the
experience of the client paying for his/her launch, including the operation
of the satellite. Obviously with a target orbit in mind it is important to
let the guidance computers control the flight, rather than a stick and
rudder video game style. However, since the 1st stage will be a fly-around
and return to launch site reusable system. The UAV idea may not be to far
fetched, I would think it may also be possible for users who only want to
fly sub-orbital UAV via remote control. I would think paying customers may
be willing to do this alone as a valuable experience. DVD's of their flight
(rocket cams, HUD camera, and launch site videos) could make a nice
"take-home" bonus for paying clients. Estimated cost of simply the launcher
may be $5,000 to $10,000.

 

The business model is mostly geared towards beyond Earth type of operations,
but I would suspect for clients that want to put a micro-sat with a digi-cam
in LEO to have their own private LandSAT/EnviSat, the extra launch and
safety requirements, and range operations would definitely add to the cost,
but not beyond possibility. Another possibility may be putting the satellite
with a smaller upper stage into HEO - High Earth Orbit above the horizon
launch, then drop the orbit down via some sort of aero breaking or upper
stage firings similar to Martian Orbit adjustments. I'm even thinking of the
possibility of a micro Ion drive that could only weigh in at a few grams for
the entire engine. An Earth observing satellite, would be harder to operate,
and require more complex software. But the data could be downloaded when the
satellite is at the top of it's orbit over the night side and moving at a
slow relative speed to the surface of the Earth. We all know how much Earth
photos cost unless you download the free ones from the USGS. This could be a
viable business model as well, but Charles doesn't like it because of course
the US intelligence community doesn't much like commercial imaging
satellites in Earth Orbit providing imagery they can't control.
 

But that doesn't mean it's not possible to build a business like that.
(350838) = 2002 EH163 = 2011 UN192

KBOB

Парень просто спит и видит, как он гребет деньги лопатой со всех желающий запустить в космос аппарат размером с пивную банку.

Так и представляю рекламму бля!
Бар весолого Джона - доставка пива на космические орбиты.Обслуживание со второй космической скоростью!  А то как же астронавтам Шаттла в полете без пива! Сушняк!
Россия больше чем Плутон.

Tiger

Вообще-то речь не о загребании денег лопатой, а о том, каким образом доход от запуска может превысить стоимость лицензии на запуск космических аппаратов с территории США.
(350838) = 2002 EH163 = 2011 UN192

pkl

Запустить можно и банку, а толку?
Вообще, исследовать солнечную систему автоматами - это примерно то же самое, что посылать робота вместо себя в фитнес, качаться.Зомби. Просто Зомби (с)
Многоразовость - это бяка (с) Дмитрий Инфан

Димитър

ЦитироватьЗапустить можно и банку, а толку?

И вправду можно запустить?   :shock:

А толк - ОГРОМНЫЙ!
Одно только разрушение госсударственного монополя сколько стоит! На авиабазе была такая тема - "спутник миниморум", да и здесь тоже - "хочу запустить ракету", кахется.
Знаете сколько людей захотели бы воспользоваться? И цена етого удовольствия невелика:
Estimated cost of simply the launcher may be $5,000 to $10,000. Estimated at $15,000 to $70,000 depending on what the client wants
to do with his/her mission.

И еще возможность развития - сегодня запуститли банку пива, а завтра - ящик пива!  :lol:  :lol:  :lol:

Старый

ЦитироватьОдно только разрушение госсударственного монополя сколько стоит!
Сколько?

ЦитироватьЗнаете сколько людей захотели бы воспользоваться?
Не знаю. А сколько?
1. Ангара - единственная в мире новая РН которая хуже старой (с) Старый Ламер
2. Назначение Роскосмоса - не летать в космос а выкачивать из бюджета деньги
3. У Маска ракета длиннее и толще чем у Роскосмоса
4. Чем мрачнее реальность тем ярче бред (с) Старый Ламер

Feol

"Хочу запустить в космос пивную банку" - это, к сожалению, ещё не спрос. Спрос - это платежеспособное желание приобрести товар или услугу. И вот когда вопрос о запуске пивной банки повернется к его инициатору той стороной, в которую нужно наяву переложить совершенно реальные земные деньги из своего кармана, то многие могут изменить своё мнение..
Всем пользователям нравится это сообщение.

L_Pt

Они бы лучше за нано-ИСЗ взялись. Смыслу, как мне кажется, гораздо больше. Пусть и не научного характера...

Если кто-то сумеет организовать запуск 100-грамовых аппаратов на низкую орбиту, и эта штука будет уметь время от времени посылать сигналы на Землю, дабы владелец мог похвастаться перед собутыльниками своим собственным ИСЗ, думаете, не найдутся подобные мажоры? Кто-то е скупает лунную поверхность. Пусть и цены не те, но и понтов не в пример больше. А если она еще будет уметь фотографировать поверхность и отправлять на Землю, причем ловиться спутниковой антенной клиента, так это вообще...

ЧСВ

Мне кажется, что массовый запуск частных "пивных банок" только загрязнит ближний космос. Гарантий качества никаких, а отследить полет мертвого наноспутника очень трудно даже нынешними способами слежения. Вот и будут "пивные банки" периодически постукивать по МКС, Союзам и Шаттлам  :twisted:
Пока не достучатся... :shock:
Чеслав Сэмюэль Волянецкий

L_Pt

Время жизни мелких спутников на низкой орбите очень даже невелико.  Через пару лет упадут.
Для дешевого спутника в крупносерийных схемах (а для любителей другие схемы противопоказаны) больше и не надо. Пробибикал пару лет – все, плати за новый.

PS Я не призываю создавать подобную фирмочку, но если кто-то сможет построить коммерческую структуру, то почему и нет? Просто ускорит создание правил запуска, аналогично правилам воздушных коридоров в современной авиации (дословно не срамить – все понимают что кое какие различия есть).

Р.А.

Цитировать...прорыв в освоении космоса.

   

Жаль,ответы о чём угодно,кроме этой главной мысли.
Не в данном техническом примере дело.
Эта мысль на Западе проходит где-то с конца 70-х?
Очень серьёзно этим занимались и далеко не только любители.
Актуально и сейчас.

Azteckium

ЦитироватьЖаль,ответы о чём угодно,кроме этой главной мысли.
Не в данном техническом примере дело.
Эта мысль на Западе проходит где-то с конца 70-х?
Очень серьёзно этим занимались и далеко не только любители.
Актуально и сейчас.

Черт сидит в деталях.  Вы вот прежде чем постить, не задумывались, почему в просвещенном мире любителям не все дозволено. Например, водку гнать :) Ближний космос - не до конца возобновляемый ресурс, как и здоровье. А тут предлагается активный эксперимент проводить.

Что касается, того, что за 2 года с низкой орбиты свалится- это верно. Но если за это время успеет долбануть по чему-то "более государственному", мало не покажется.
Ecco homo