ОТГАДАЙКА

Автор ronatu, 11.09.2005 10:18:52

« назад - далее »

0 Пользователи и 6 гостей просматривают эту тему.

GREMLIN

Этап подготовки экипажа - "выживание в пустыне"
Светлана Октябрьевна Омельченко (Еремеева) с Салижаном Шариповым и Валерием Бабердиным


ronatu

Когда жизнь экзаменует - первыми сдают нервы.

Salo

Гибель Комарова в СА Союза-1 в результате нераскрытия парашюта, вряд ли можно назвать ракетной катастрофой.
"Были когда-то и мы рысаками!!!"

ronatu


 :?:  :?:  :?:  :?:  :?:  :?:  :?:  :?: :?:  :?:  :?:  :?:  :?:  :?:  :?:
Когда жизнь экзаменует - первыми сдают нервы.

Цитировать
 :?:  :?:  :?:  :?:  :?:  :?:  :?:  :?: :?:  :?:  :?:  :?:  :?:  :?:  :?:

Ну и че, Европа, она и в Африке (извиняюсь, в Австралии) Европа.
КАКТОТАК
----------------------------
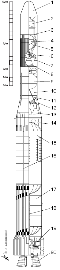
Моделью ракеты можно достичь модели Марса

Евгений Румянцев

ЦитироватьЭтап подготовки экипажа - "выживание в пустыне"
Светлана Октябрьевна Омельченко (Еремеева) с Салижаном Шариповым и Валерием Бабердиным

Я так понял , что фотка сия взята с личной странички С.О. Омельченко http://fotki.yandex.ru/users/Omeltchenko/album/14407/

Petrovich

может мы те кого коснулся тот (еще) энтузиазм...

ronatu

Tenepb noHRTHo - oH >ke (Александр Шлядинский)
ee u npoekTupoBa/\...
:cry:
Когда жизнь экзаменует - первыми сдают нервы.

ЦитироватьTenepb noHRTHo - oH >ke (Александр Шлядинский)
ee u npoekTupoBa/\...
:cry:

По малолетству своему проектировать сию штуку не имел возможности. Посему она за бугор и летала.  :(
 :D  :D  :D
КАКТОТАК
----------------------------
Моделью ракеты можно достичь модели Марса

Anatoly Zak

Цитировать
Цитировать
 :?:  :?:  :?:  :?:  :?:  :?:  :?:  :?: :?:  :?:  :?:  :?:  :?:  :?:  :?:

Ну и че, Европа, она и в Африке (извиняюсь, в Австралии) Европа.

Кстати, а что там за небоскребы (стартовые комплексы) на горизонте?

Leroy

Цитировать

Кстати, а что там за небоскребы (стартовые комплексы) на горизонте?

Дык Вумера...

Дмитрий В.

ЦитироватьКстати, а что там за небоскребы (стартовые комплексы) на горизонте?
Это циклопические стартовые сооружения СК для Н-1 на Байконуре. :D  Они были так велики, что их можно было рассмотреть из Вумеры. :lol:
Lingua latina non penis canina
StarShip - аналоговнет!

Андрей Суворов

Цитировать
 :?:  :?:  :?:  :?:  :?:  :?:  :?:  :?: :?:  :?:  :?:  :?:  :?:  :?:  :?:
Какое ELDO! :)

GREMLIN

Попался любопытный снимок.
Как думаете, где это, что за стартовые позиции и что запускают?
На одной из позиций видны два факела, что это?
Заранее говорю, ответы не знаю, самой интересно

Dude

Это у вас неправильная картинка, вот правильная,
там все вопросы отпадают :)

http://i190.photobucket.com/albums/z138/LAFFCLT/080207F22atshuttlelaunch.jpg

GREMLIN

Спасибочки, всё поняла :P

Leroy

ЦитироватьЭто у вас неправильная картинка, вот правильная,
там все вопросы отпадают :)

http://i190.photobucket.com/albums/z138/LAFFCLT/080207F22atshuttlelaunch.jpg
Две 39-е площадки, значит?

Dude

Ну, да там же все в названии файла и на картинке. :)

7 февраля 2008 г STS-122 "Атлантис" стартует с площадки LC-39A.

Chilik

ЦитироватьНа одной из позиций видны два факела, что это?
Вы недостаточно долго вглядывались в рисунок. Там три факела. :)

P.S. Есть подозрение, что картинка от GREMLIN сделана с оригинала, а от Dude - уже ретушированная.

GREMLIN

Chilik Вы шутите :?  Целый день сегодня разыгрываю.
Р.S. А где Вы третий увидели :lol:  :lol:  :lol: